crankcaseheater

moisture proof belly band crankcase heater , copeland crankcase
图片尺寸1680x1200
moisture proof belly band crankcase heater , copeland crankcase
图片尺寸840x600
crankcase heater mounting for a compressor
图片尺寸2171x2385
aluminum ss bristo compressor crankcase heater for copeland
图片尺寸1680x1200
关于全新奔驰c级,你想知道的都在这了
图片尺寸3000x2250
electric crankcase heater silicone rubber heating mat for refer
图片尺寸1000x1000
5 -19 inches oil sump heater , crankcase heater for scroll
图片尺寸1680x1200
frost protection compressor crankcase heater belt type corrosion
图片尺寸840x600
3m crankcase silicone heater heating band
图片尺寸498x526
云海研究报告之三镁合金在汽车上的应用究竟有哪些
图片尺寸800x427
crankcase heater medical ventilator heater lithium battery
图片尺寸1000x1000
2 cores copeland scroll crankcase heater
图片尺寸750x355
2020 new crankcase heater heating belt air conditioning
图片尺寸400x247
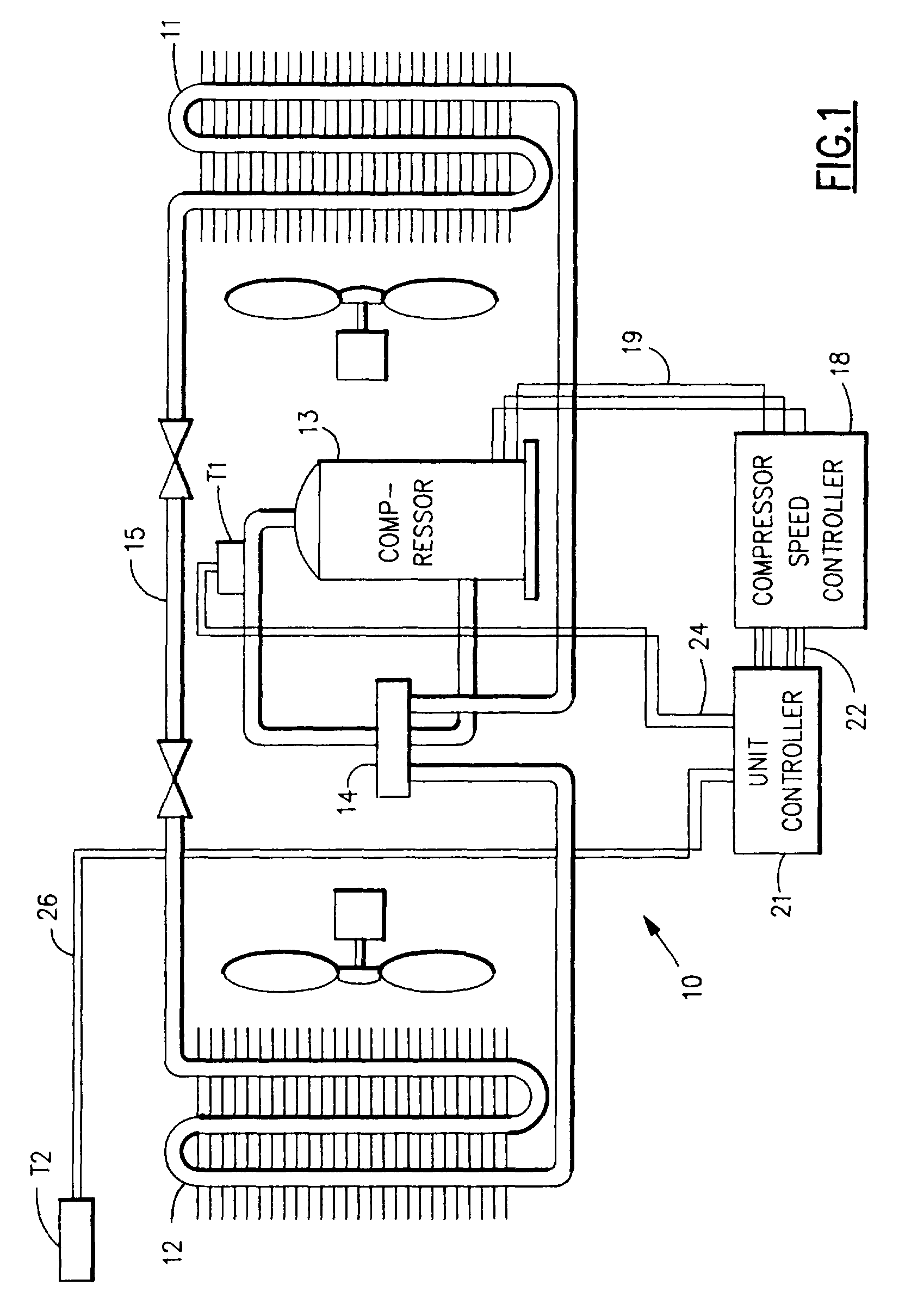
crankcase heater control
图片尺寸2436x3533
compressor crankcase heater control
图片尺寸1664x2418
lv9 擅长:暂未定制 向ta提问私信ta 展开全部 电影3里的crankcase
图片尺寸500x606
low wattage tutco crankcase heaters crankcase oil heater good
图片尺寸600x428
变形金刚玩具篇四百三十六赛星小报社本周最新的tf资讯整理
图片尺寸1080x1660
refrigeration compressor scroll crankcase heater
图片尺寸750x750
恐惧战队是电影3中狂派方面新登场的战斗小队,由曲轴箱(crankcase)
图片尺寸550x324