crevice corrosion

雪佛兰科尔维特图片
图片尺寸1500x1000
赛道王者柯尼赛格regera
图片尺寸1920x1080
most popular american cars (and trucks)
图片尺寸2500x1500
雪佛兰,山,海,c7, corvette,汽车壁纸,照片,下载
图片尺寸2560x1706
a process for preparing a crevice corrosion-resistant non
图片尺寸1719x2308
极速超跑 2020雪佛兰corvettestingray
图片尺寸1920x1280
crevice corrosion (under deposit corrosion)
图片尺寸500x277
【预订】methodology of crevice corrosion testing
图片尺寸245x346
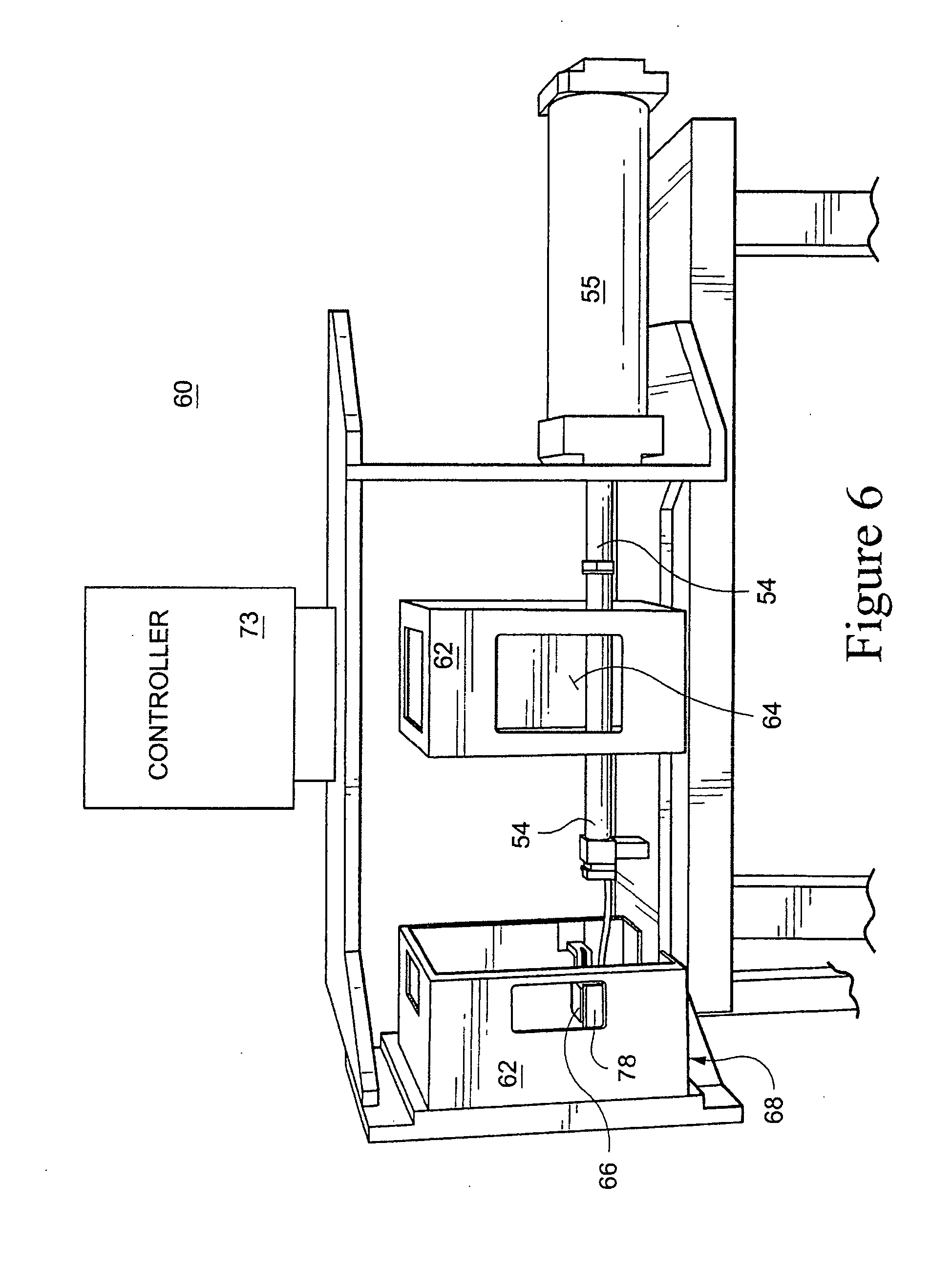
专利us20050247762 - crevice corrosion-resistant liquid-cooled
图片尺寸993x1888
crevice corrosion-resistant armature bar clip-to-strand
图片尺寸1949x2598
2014 chevrolet 雪佛兰corvette c7 stingray 汽车高清壁纸
图片尺寸1920x1440
2014款雪佛兰c7-r赛车汽车桌面壁纸 - 第6张
图片尺寸2560x1600
4 schematic diagrams of crevice corrosion morphology of tp140
图片尺寸756x362
chevrolet corvette c7 stingray
图片尺寸2880x1800
3- crevice corrosion
图片尺寸550x358
critical temperatures of crevice corrosion for different
图片尺寸339x280![03 [交流] 2015 ruffer performance chevrolet corv](https://imgs.wantubizhi.com/img/ADDA3C5D760C6828B77B505A29D43E838427F3CA34580614A11BD06DE948870216B703A1FBD4C302A7F206A2229A2C82E90A3FE804A787B15A28740112DFDBDCBCE019A75888506E12B1C1750A2693DF585A8876ACA0FABD9222BCFA1A539A39)
03 [交流] 2015 ruffer performance chevrolet corv
图片尺寸1920x1200
crevice corrosion characteristics
图片尺寸500x235
2014 chevrolet 雪佛兰corvette c7 stingray 汽车高清
图片尺寸700x437
chevrolet corvette c7 z06
图片尺寸2880x1800