crossing图片

crossing_adult
图片尺寸800x800
crossing synthesis 穿越之门ps合成
图片尺寸1280x768
财富值 小学英语六年级上册第一单元 turn left turn right crossing
图片尺寸1080x810
crossing这个英语单词怎么读
图片尺寸697x439
crossing图片_百度百科
图片尺寸391x507
crossing图片
图片尺寸562x421
road signs turn right turn left straight on zebra crossing
图片尺寸1080x810
> penguins crossing的照片
图片尺寸300x450
zebra crossing
图片尺寸450x320
cartoon safe crossing the road
图片尺寸700x1053
railroad crossing road sign
图片尺寸600x600
人行横道(pedestrian crossing)
图片尺寸516x290
crossing the bridge at lake roosevelt in arizona
图片尺寸450x319
new york,usa - august 20,2015 : people crossing the brooklyn
图片尺寸1125x1620
macfriespedestriancrossing | flickr – 相片分享!
图片尺寸500x436
warning triangle children crossing
图片尺寸400x400
erik johansson——common sense crossing
图片尺寸600x400
railroadcrossingsign图片
图片尺寸1600x1067
train line crossing
图片尺寸1500x1099
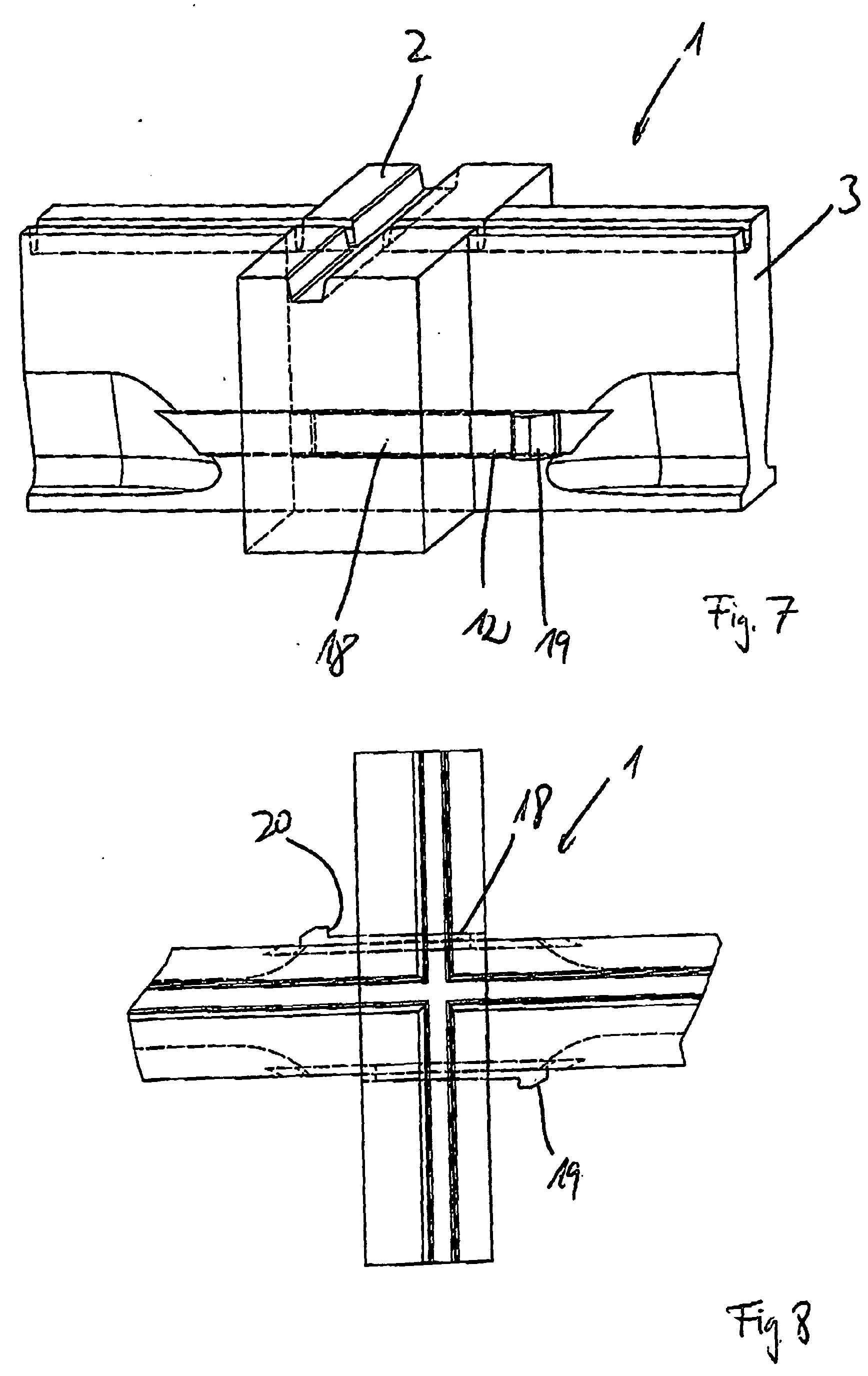
crossing area of a grooved rail crossing
图片尺寸1736x2752