cryopump

警惕这个减肥误区90的人都做错了
图片尺寸640x426
专利us6474080 - cryopump system with modular elec
图片尺寸2804x4180
专利us20020023440 - cryopump system with modular
图片尺寸1234x2088
cryo pump 原理ppt
图片尺寸1080x810
ulvac cryogenics inc|cryopumps (standard) 22" t
图片尺寸380x235
专利ep0126909b1 - cryopump with rapid cooldown
图片尺寸1745x2545
专利us6474080 - cryopump system with modular elec
图片尺寸2767x3007
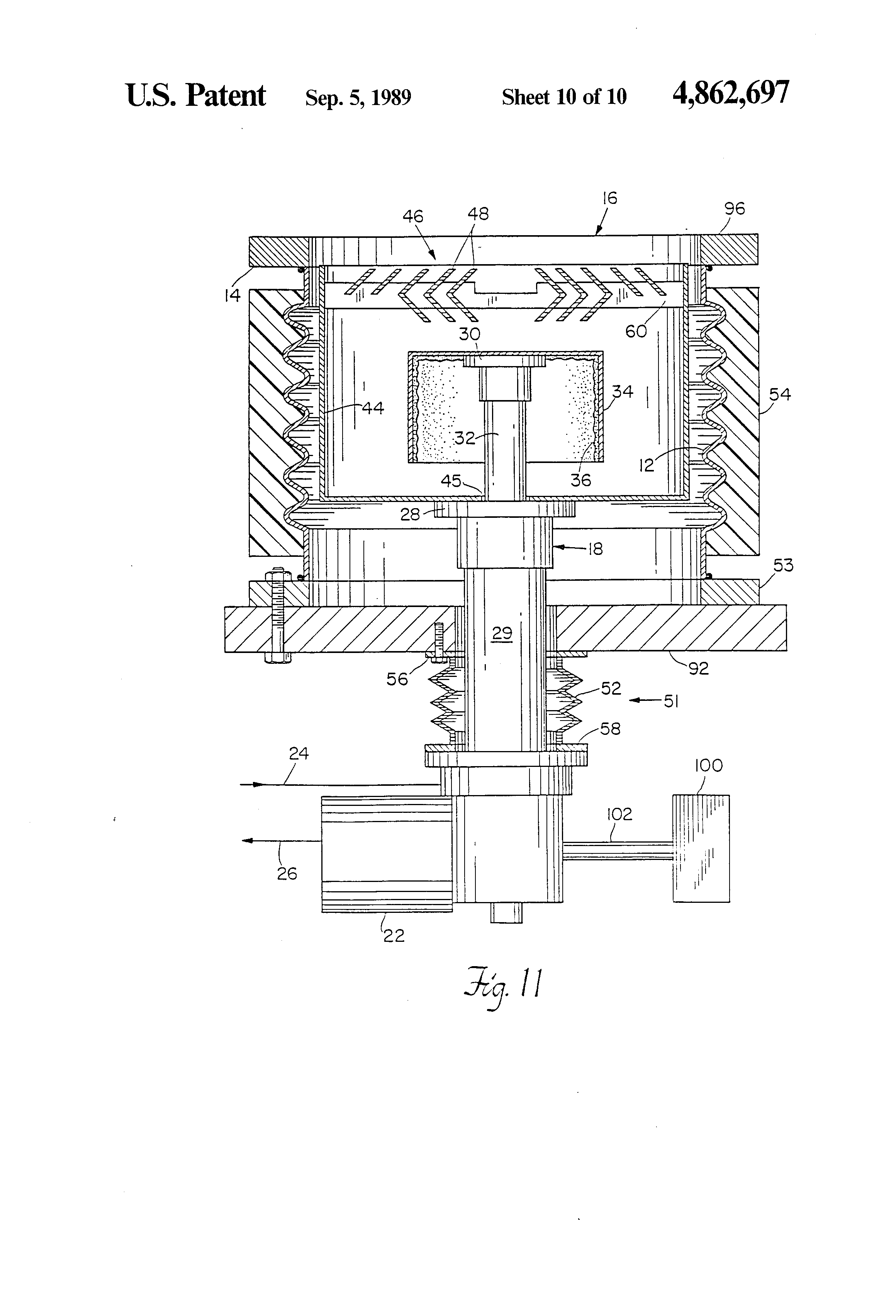
cryopump with vibration isolation
图片尺寸2320x3408
suzhou bama superconductive technology
图片尺寸543x503
cryopump with gate valve control
图片尺寸2673x3891
专利us20090126374 - cryopump apparatus and operatio
图片尺寸1710x2167
专利us20090126374 - cryopump apparatus and operatio
图片尺寸1723x2369
专利ep0128323a2 - cryopump with improved adsorpt
图片尺寸2012x3157
cryopump piston position tracking
图片尺寸1747x2185
cryopump piston position tracking
图片尺寸1771x2271
专利us6318091 - cryopump system with modular elec
图片尺寸2173x3173
专利us20070256429 - cryopump and regenerating metho
图片尺寸1600x2808
cryopump with gate valve control
图片尺寸2714x3932
上海伟务低温真空设备有限公司
图片尺寸638x779
专利us20090126374 - cryopump apparatus and operatio
图片尺寸1738x1896