cs43198芯片

cirrus logic的cs43198
图片尺寸832x631
一样的成本水平周边设备和线材cs43198和ak4499解码器哪个音质会更好
图片尺寸800x484
景丰mx2aproxmos双cs43198解码安卓数字转盘hifi音乐播放器
图片尺寸790x938
mx-3a mqa解码 双cs43198
图片尺寸750x839
usb接口和数字界面小模块.dac芯片,大颗粒的cs43198,一片.
图片尺寸1400x934
车载台式数字转盘hifi dsd播放解码器es9038 蓝牙csr8675 cs43198
图片尺寸400x382
okok四电极体脂秤电路板,采用芯海cs1256 csu18m88 cst92p10芯片部分
图片尺寸2448x1624
选4路cs43198的拓品d30pro还是4路pcm1794艺牛wd6
图片尺寸800x794
ips 彩屏显示xmos xu208 usb 芯片cs43198 dac单端 180mw@32Ω平衡
图片尺寸1020x2070
大神帮忙鉴定此芯片型号
图片尺寸1552x2592
手机hifi芯片排行榜top10
图片尺寸640x427
乐视l434fcnn电源芯片ld7539egs
图片尺寸1536x2048
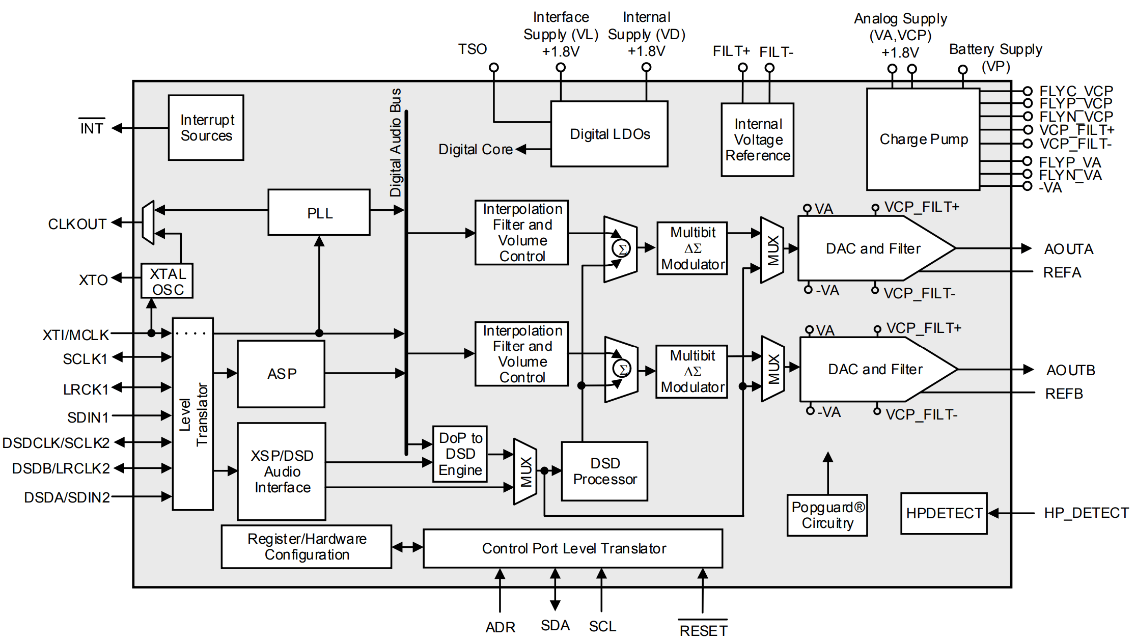
cs43198架构图cs43131架构图相比cs43198,cs43131在解码部分完全一致
图片尺寸2231x1261
笔记本内存ddr3l4g双pcm1794cs4398解码板e3耳放并管
图片尺寸1280x1944
分享老dac升级记更换数字接收器升频使声音更细致
图片尺寸600x450
2019304206064
图片尺寸1349x1696
便携创作武器库antelopezengo声卡评测
图片尺寸1080x1295
模4减法计数器减法计数器时序图
图片尺寸1600x1200
耳朵会怀孕,海贝r5播放器体验
图片尺寸940x954
乐视l434fcnn电源芯片ld7539egs
图片尺寸2048x1536