cupshaped

this plastic cup shaped mug i.redd.
图片尺寸2988x5312
cup-shaped decorative boxes
图片尺寸500x500
ceramic cup shaped planter green set of 2-66812-gree
图片尺寸750x588
disney embossed minnie mouse pink bow coffee mug cup shaped
图片尺寸398x400
0161-0162-0163-diamond shaped cup
图片尺寸995x615
wholesale small cup shaped cup shaped biodegradable plastic
图片尺寸750x738
0161-0162-0163-diamond shaped cup
图片尺寸995x615
tea cup shaped fda&lfgb sillicone baking cup
图片尺寸600x600
1pc fruit pattern round shaped cup mat | romwe
图片尺寸800x1066
amber depression glass trophy cup shaped serving sugar bowl w
图片尺寸500x500
cup-shaped, finely embossed sugar bowl castaudi e gautiero
图片尺寸649x700
amber depression glass trophy cup shaped serving sugar bowl w
图片尺寸500x500
400ml/14oz bpa free ball shaped plastic cup with straw
图片尺寸600x600
special-shaped cup
图片尺寸1180x787
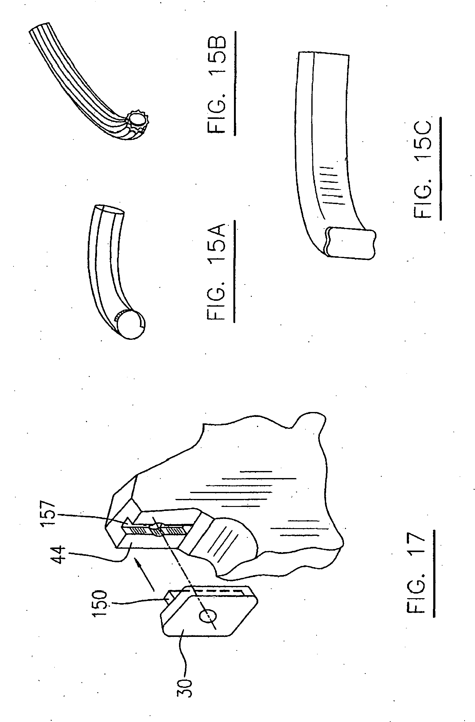
cup-shaped milling cutter for airfoils
图片尺寸1547x2350
tumbler cups pineapple shaped straw cup
图片尺寸448x960
1pc fruit pattern round shaped cup mat
图片尺寸405x539
light blue resin tea cup shaped bird bath garden bird feeder
图片尺寸640x640
cup-shaped ceramic candle holders, measuring 9.3 x 7.
图片尺寸360x360
clear glass vase glass terrarium cup shaped creative garden
图片尺寸800x800