cvp图片

重症视角 | cvp监测在危重病中的应用
图片尺寸765x625
中心静脉压cvp监测及波形分析ppt
图片尺寸920x690
中心静脉压cvp监测的临床意义及影响因素
图片尺寸641x609
中心静脉压cvp监测888ppt课件
图片尺寸920x690
十问十答 | cvp能否有效指导液体管理?
图片尺寸640x458
血流动力学系列中心静脉压cvp
图片尺寸660x372
中心静脉压(cvp)监测6ppt
图片尺寸1080x810
详细的中心静脉压cvp测量方法建议每个护士学习收藏
图片尺寸640x480
使用三通测量cvp你的连接方式对嘛
图片尺寸1080x864
中心静脉压(cvp)的监测和护理ppt
图片尺寸1080x810
中心静脉压(cvp)监测888
图片尺寸1080x810
中心静脉置管术及中心静脉压(cvp)的测定ppt课件
图片尺寸800x600
技术中心静脉压cvp的测量内附操作视频
图片尺寸727x676
p>中心静脉压(central venous pressure,cvp)是指右心房及上,下腔
图片尺寸1095x820
cvp图片
图片尺寸453x300
课件中心静脉压cvp监测
图片尺寸920x690
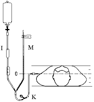
测量中心静脉压cvp的零点问题
图片尺寸317x342
测量cvp只可以使用cvc吗原来还有这么多学问
图片尺寸411x300
cvp 中心静脉压的测量
图片尺寸640x480
课件:中心静脉压(cvp)监测ppt
图片尺寸1080x810