deceleration

p>deceleration,英语单词,主要用作 a target="_blank" href="/item
图片尺寸604x400
理论实践史上最全论文中常用的图像分割评价指标附完整代码
图片尺寸518x564
晚期减速 ld(late deceleration)
图片尺寸1080x810
早期减速 ed(early deceleration)
图片尺寸1080x810
日本dixcel成立于2003年,其品牌的名称来源于"deceleration = 减速"
图片尺寸650x179
dendritic actin cytoskeleton: structure, functions
图片尺寸2600x1941
预售 按需印刷 deceleration of a conducting disc with eddy
图片尺寸959x1360
刘慈欣科幻小说中的11位父亲
图片尺寸640x438
diethylene dioxide
图片尺寸500x500
开业的瑜伽同时在家,acceleration-decelerationunit加速度-减速度
图片尺寸400x300
加速度图片
图片尺寸400x300
deceleration of mars science laboratory in martian atmosphere
图片尺寸1547x870
day42英语阅读光棍节销售创纪录
图片尺寸1080x1418
35byj46 stepper motor step dc12v deceleration permanent magn
图片尺寸2255x1690
显微镜下的绝美画面以单细胞硅藻排列的视觉艺术
图片尺寸600x550
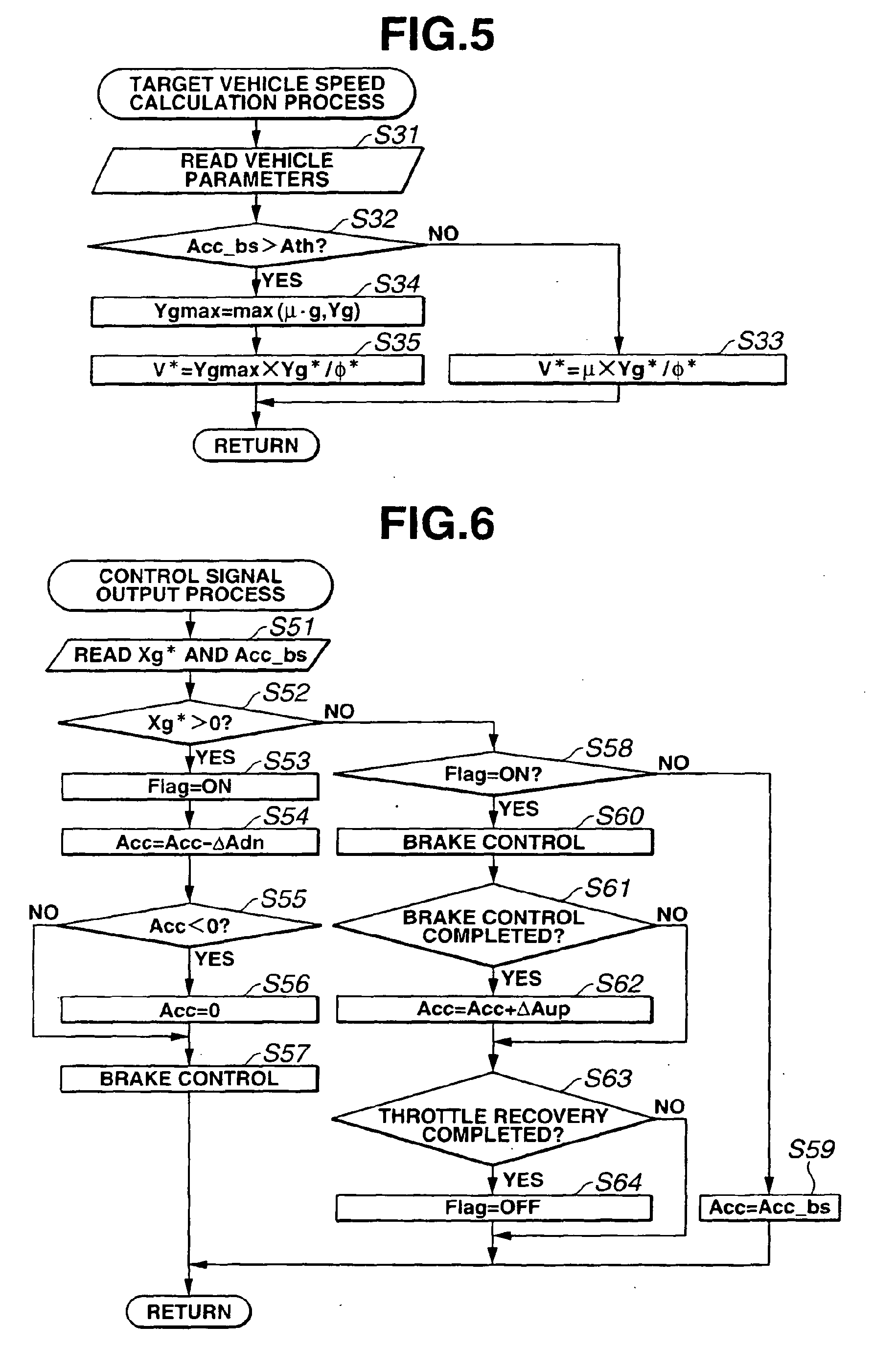
deceleration control apparatus and method for automotive vehicle
图片尺寸1831x2752
加速度图片
图片尺寸400x300
10pcs/lot precision miniature 5mm planetary deceleration ste
图片尺寸640x640
预订 resistance in the deceleration lane: velocentri
图片尺寸282x400
专利
图片尺寸1712x2087