decouplingpoint

什么是供应链中的解耦点decouplingpoint它到底有啥用
图片尺寸1280x720
什么是供应链中的解耦点decouplingpoint它到底有啥用
图片尺寸1080x717
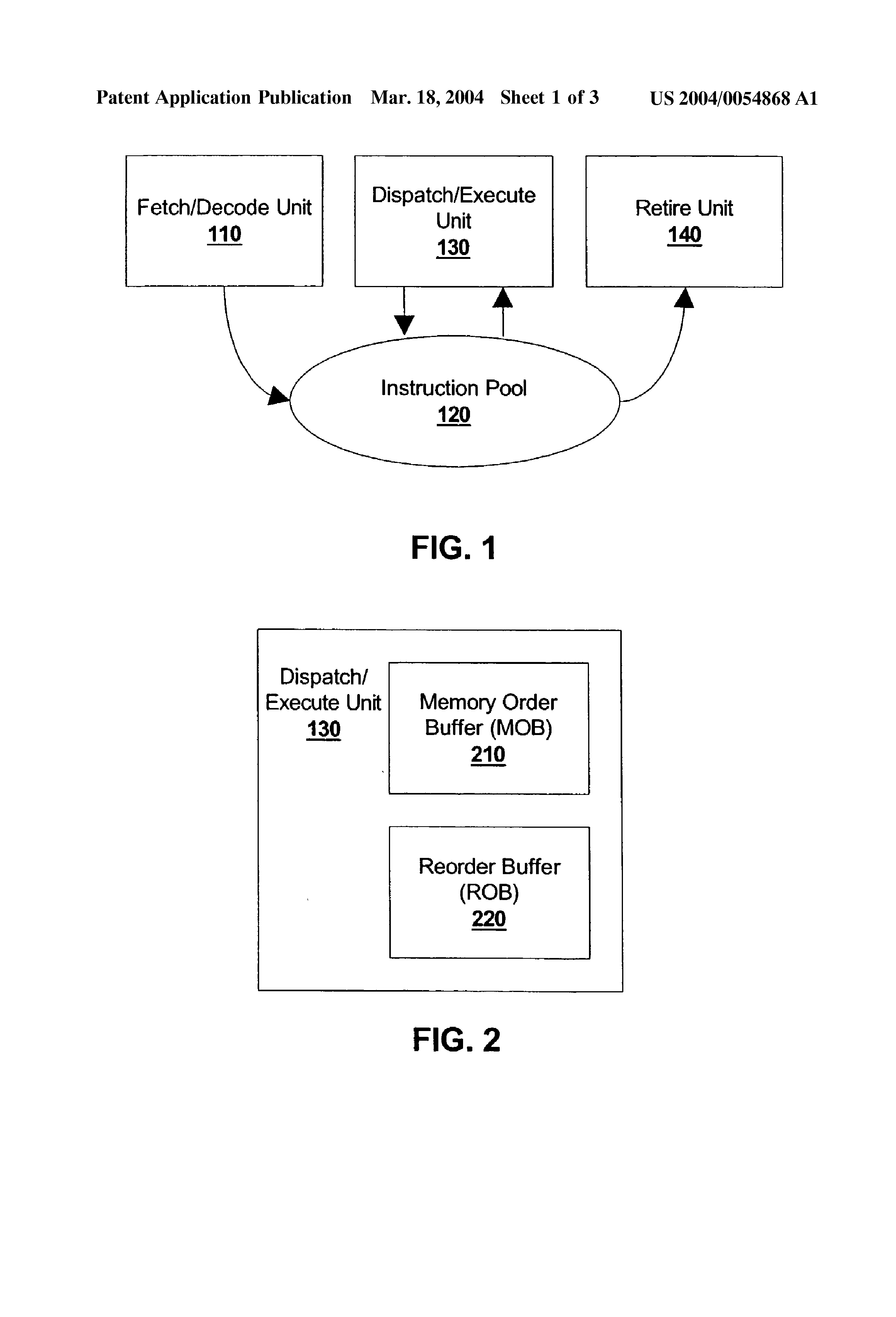
decoupling floating point linear address
图片尺寸1950x2687
decoupling floating point linear address
图片尺寸2320x3408
insulation displacement contact with decoupling point and
图片尺寸1890x2752
decoupling floating point linear address
图片尺寸2320x3408
政府继信托买房后会不会对decoupling下手
图片尺寸1080x1439
文档 所有分类 外语学习 英语学习 lte简写翻译 coupling/decoupling
图片尺寸659x1101
什么是供应链中的解耦点decouplingpoint它到底有啥用
图片尺寸1280x720
mvc the core idea of : decoupling .
图片尺寸800x409
什么是供应链中的解耦点decouplingpoint它到底有啥用
图片尺寸640x360
pm to address derisking
图片尺寸600x398
more sino-american decoupling 00:0004:13本期小站静读选自the
图片尺寸1440x719
50个必须要会的微服务面试题
图片尺寸768x410
english news 英语新闻-decoupling more detrimental to us tech
图片尺寸929x606
decoupling论文解读
图片尺寸990x418
decoupling zero-shot semantic segmentation
图片尺寸634x724
decoupling(or buffer positioning): 确定解耦点(decoupling points)
图片尺寸1296x520
been introduced together with a two-stage framework decoupling
图片尺寸1920x1080
输入图片说明
图片尺寸2074x875