determinated

bi-determinated amethyst - 13.5 x 6 cm - 507 grams
图片尺寸700x631
emotional intelligence words: feeling determinated, face our
图片尺寸4725x2977
了自己的社交媒体,晒出自己的训练照,并配文prepared determinated
图片尺寸440x606
aisakvak determinated look | flickr – 相片分享!
图片尺寸500x281
determinated - qq音乐-千万正版音乐海量无损曲库新歌热歌天天畅听的
图片尺寸300x300
ringing in my ear - determinated - qq音乐-千万正版音乐海量无损曲
图片尺寸300x300
will be determinated by customerspackaging details包装与物流
图片尺寸1000x1000
coated stent with geometry determinated functionality and method
图片尺寸2019x2470
coated stent with geometry determinated functionality and method
图片尺寸2147x2983
apachedoris一个开源mpp数据库的架构与实践
图片尺寸572x234
optimum active and inert ratios for different metamorphic grade
图片尺寸277x392
once the time histories of g j have been determinated, the
图片尺寸506x225
substrates during reactionnote: the viscosity was determinated
图片尺寸349x259
the hydrophobic character of extractant can be determinated
图片尺寸434x358
feel determinated !
图片尺寸740x493
立陶宛投资署investlithuaniavi手册
图片尺寸1080x608
we know that success of our business is determinated by you
图片尺寸458x368
从心出发2020神龙汽车文化节即将启幕
图片尺寸1920x800
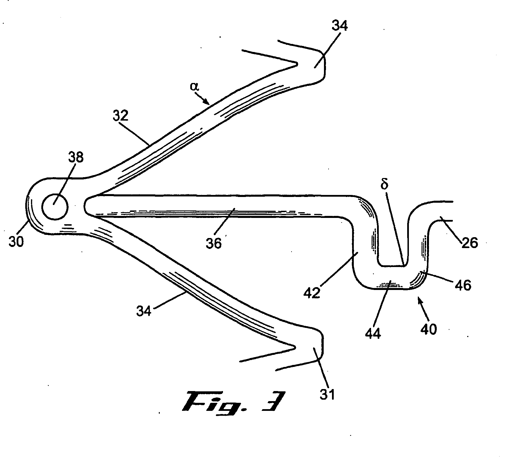
coated stent with geometry determinated functionality and method
图片尺寸1870x2284
stent with geometry determinated functionality and method of
图片尺寸1854x1630