din导轨安装方式

直线导轨安装方法
图片尺寸1786x1212
工业自动化领域现场电气器件din导轨安装改进方法调查与研究
图片尺寸459x301
直线导轨安装注意事项
图片尺寸433x347
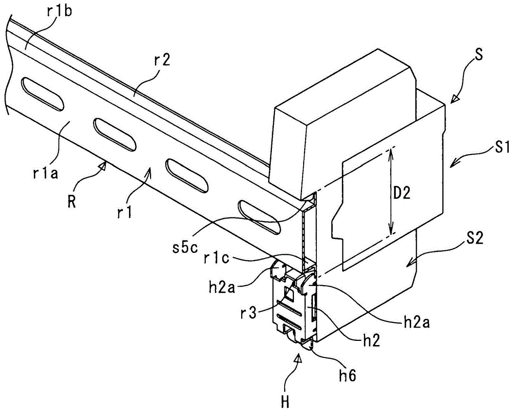
缓慢向din导轨方向用力使din安装件底部的弹簧锁扣向下移动,并卡入
图片尺寸506x365
din11 ipo 直流信号导轨安装式压力应变电桥信号隔离放大变送器0-20mv
图片尺寸865x327
长度53-75mm安装模组pcb支架c45din导轨卡槽线路板固定盒塑胶外壳 pcb
图片尺寸350x350
模组pcb支架c45din导轨卡槽线路板固定盒外壳长度214236mm安装
图片尺寸800x800
模组pcb支架c45din导轨卡槽线路板固定盒外壳长度214236mm安装
图片尺寸800x800
模组pcb支架c45din导轨卡槽线路板固定盒外壳长度214236mm安装
图片尺寸800x800
适配pcb模组架um107mm&108宽plc导轨安装外壳支架町洋同款橙色单层卡
图片尺寸350x350
直线导轨安装方法7步详解
图片尺寸414x235
solidworkselectrical定制管道或din导轨创建
图片尺寸600x265
检测_导轨_精密
图片尺寸239x163
模组pcb支架c45din导轨卡槽线路板固定盒外壳长度214236mm安装
图片尺寸800x800
用于将保护器安装在din导轨上的安装装置
图片尺寸1000x803
2981716菲尼克斯din导轨总线连接器tp全新现货议价psrtbus
图片尺寸430x382
din(35mm)导轨式安装电源klna120f-24 klna120f-48
图片尺寸2635x1757
洪亚威视 5口千兆工业级交换机ip40防护双电源冗余din导轨4kv防雷
图片尺寸800x800
导轨式usb转rs485/422工业级隔离型转换器 支持挂壁-阿里巴巴
图片尺寸800x800
美国blhnobel ast-3p变送器 din导轨安装 称重仪表
图片尺寸593x554