doughsheet

doughexplicit
图片尺寸300x300
香港最好手工酸种披萨doughbros
图片尺寸1080x1439
dough sheet production
图片尺寸1344x1956
dough sheet production
图片尺寸1376x1961
新加坡探店doughchijmes
图片尺寸1080x1439
sourdough酸面包有机全麦肉桂榛子乡村
图片尺寸1080x1439
在家早教昆虫主题一蜜蜂playdough
图片尺寸1080x1439
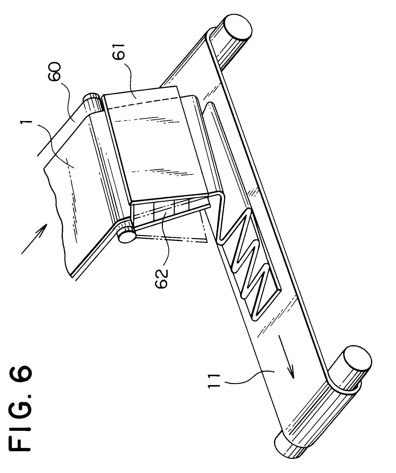
dough sheet laminating apparatus
图片尺寸1568x1872
pizzadough做烧饼简直完美
图片尺寸1080x1439
clear acrylic dough sheet 16 inch by 16 inch
图片尺寸1500x1259
sourdough酸面包重庆时代天街店
图片尺寸1080x1080
缺德舅pizzadough梅菜肉饼
图片尺寸1080x1439
sourdough酸面包
图片尺寸1080x810
北美生活pizzadough变身炸油条
图片尺寸668x890
sodough老瞎面包
图片尺寸1080x1439
我也用phyllodough做了北美小馄饨
图片尺寸1080x1080
creme de menthe cookie dough cheesecake brownies
图片尺寸750x1700
dough br.基本信息
图片尺寸392x696
chijmes|dough
图片尺寸1080x1080
重庆sourdough面包店国庆打卡领取免费面包
图片尺寸1080x1439