dr机结构图

uc臂拍片dr机制造技术
图片尺寸779x1000
宠物dr宠物拍片设备宠物x光机宠物医疗设备宠物医疗器械 f) 结构
图片尺寸640x1896
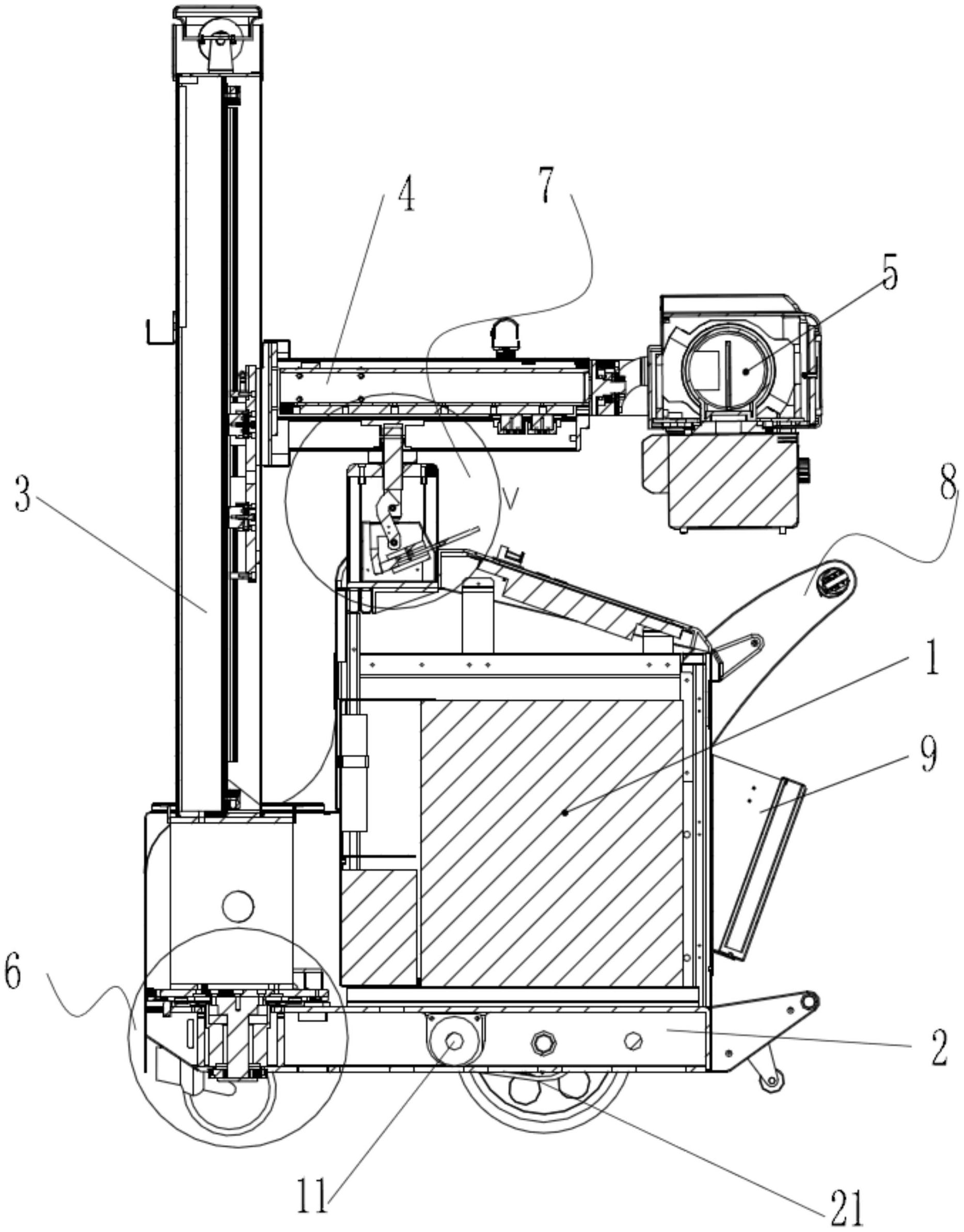
一种移动式dr
图片尺寸1867x2384
一种移动式dr的制作方法
图片尺寸783x1000
宠物dr数字兽用x光机
图片尺寸1175x1241
移动dr_正得乐医疗数字影像x线机升级改造
图片尺寸721x702
医用dr类x光机有哪些零部件构成
图片尺寸1000x500
一种医疗dr固定机架
图片尺寸1000x922
cr.dr.ct的原理
图片尺寸1080x810
一种具有多重防护结构的x光机的制作方法
图片尺寸1000x754
安健科技数字x光机(灵锐电动床dr )
图片尺寸1080x810
具有六自由度机械臂的dr机器人的制作方法
图片尺寸925x1000
sludge treatment equipment jyg series hollow blade dryer/sludge
图片尺寸750x541
无损安装,即装即用,dr120上下料机器人
图片尺寸800x349
patent drawing
图片尺寸2440x2459
一种带有3ddr机的医疗方舱
图片尺寸1949x1615
华锐影像 数字化x光机 可供宠物医院使用 数字dr
图片尺寸800x1109
14米工作半径dr61400焊接机器人
图片尺寸800x417
patent drawing
图片尺寸2000x2200
第三方数据delco remy : drs2011
图片尺寸586x388