ds2501电路图

自制250逆变焊机电路图第1页
图片尺寸2368x1633
图15 大功率单相有源pfc功率电路图14 l4981b片内原理l4981b的内部
图片尺寸1264x953
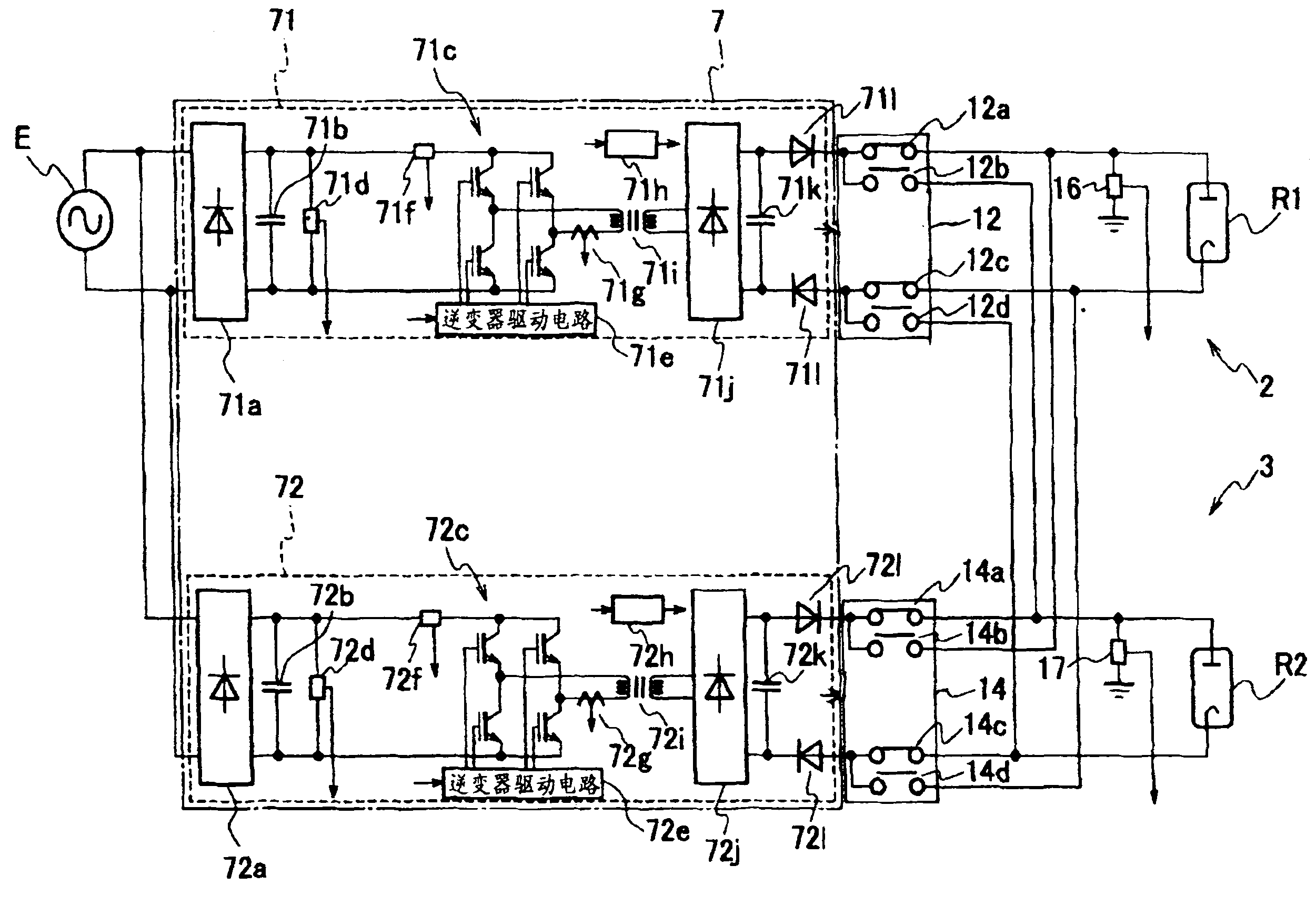
逆变器电路15
图片尺寸809x439
步进电机的控制电路图
图片尺寸800x878
co2mig250单管igbt焊机的电路原理图免费下载
图片尺寸869x586
2501_1738gif 动态图 动图
图片尺寸2501x1738
这个是原来6z4整流 猫版的稳压电路
图片尺寸1600x1093
新提醒co2mig250单管igbt气体保护焊机电路原理
图片尺寸2076x1212
ds90c2501 datasheet
图片尺寸1275x1650
海利普p型机15kw变频器开关电源电路戡误解决方案华强电子网
图片尺寸828x614
直流到交流逆变器电路图
图片尺寸1524x712
由于中间针信号由ds2501提供,u51b就闲置了.
图片尺寸551x502
易龙商务网 广东黄页 深圳市黄页 宝安区黄页 电子工业 集成电路(ic)
图片尺寸400x329
通信电路电源使用专用的直流140v电压,,电路设在室外机主板上
图片尺寸2587x1655
jamosub250低音炮维修
图片尺寸1600x845
tlp250构成的驱动器电路
图片尺寸800x521
求助电源全汉fsp250-60atv图纸
图片尺寸1598x992
功放电路图(加阴极跟随器).jpg
图片尺寸1065x749
新型正弦波逆变电源电路图
图片尺寸1500x946
250w-c5200功放电路图
图片尺寸1188x918