dtb结晶器

dtb结晶器
图片尺寸600x600
河北dtb真空结晶器
图片尺寸622x860
dtb结晶器
图片尺寸600x450
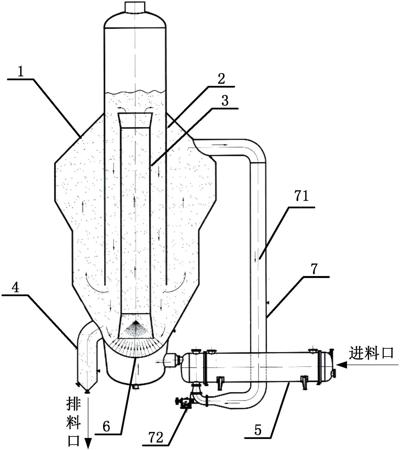
一种外循环dtb流化床结晶器-爱企查
图片尺寸1630x1834
dtb结晶器
图片尺寸304x540
dtb真空连续结晶器
图片尺寸750x750
钛dtb结晶器
图片尺寸650x487
真空冷却结晶器dtb结晶器
图片尺寸300x396
dtb型结晶器
图片尺寸705x926
dtb连续蒸发结晶器
图片尺寸400x322
dtb型结晶器
图片尺寸431x280
dtb型结晶器介绍
图片尺寸600x627
湖北fc型结晶器fxj-1000
图片尺寸1000x1000
dtb连续结晶器
图片尺寸835x524
dtb结晶器
图片尺寸460x460
dtb蒸发结晶器运行事项介绍
图片尺寸357x305
100立方钛结晶器
图片尺寸500x500
【精研结晶】供应古德蒸发/闪发型dtb结晶器/闪蒸结晶器
图片尺寸1434x1920
dtb结晶器-石家庄德硕化工设备有限公司
图片尺寸450x332
dtb冷却结晶器
图片尺寸234x279