duplexprinting

auto duplex printing
图片尺寸4960x3072
synchronous duplex printing systems using pulsed dc fields
图片尺寸1468x1984
synchronous duplex printing systems with intermediate transfer
图片尺寸1678x1928
duplex inkjet printing system
图片尺寸2747x3728
duplex printing apparatus with a storage section for storing a
图片尺寸1981x2728
synchronous duplex printing systems using pulsed dc fields
图片尺寸1552x1681
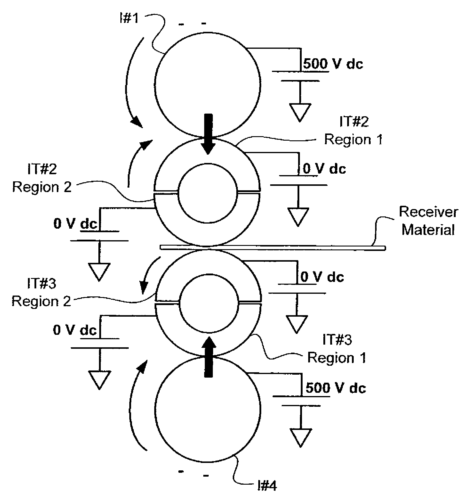
synchronous duplex printing systems using directed charged
图片尺寸1588x1685
stencil printing apparatus capable of duplex printing
图片尺寸2211x3187
speed letter: up to 52 ppm (black) – auto duplex printing
图片尺寸573x430
duplex printing
图片尺寸1773x2674
polyester cotton men duplex sublimation printing tank top
图片尺寸1000x1249
printer for duplex printing with multiple printhead modules
图片尺寸2084x2471
duplex printing system
图片尺寸2046x1235
& 130 pages per minute paper sizes up to sra3/banner printing
图片尺寸1024x725
synchronous duplex printing systems using directed charged
图片尺寸1619x2003
duplex inkjet printing system
图片尺寸2049x2975
厂家直销 四工位高速旋转平面丝印机 双工转盘印刷机 品质保证
图片尺寸720x960
automatic duplex printing apparatus
图片尺寸2320x3408
synchronous duplex printing systems using directed charged
图片尺寸1205x1716
synchronous duplex printing systems using directed charged
图片尺寸1426x2263