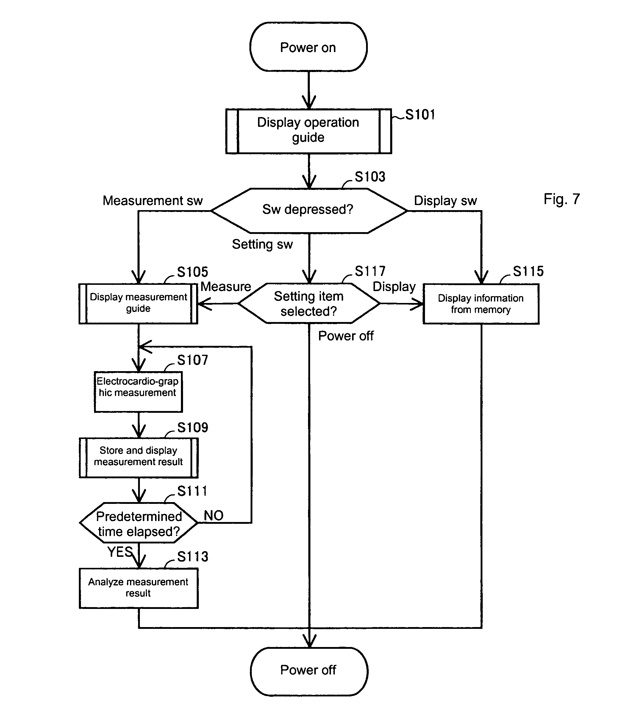
electrocardiograph

electrocardiographtechnician短评
图片尺寸270x349
electrocardiograph system
图片尺寸1728x2804
专利us7310550 - electrocardiograph and display meth
图片尺寸2090x2389
electrocardiograph system
图片尺寸1632x2700
electrocardiograph system
图片尺寸1664x2700
专利us20050004487 - electrocardiograph and display
图片尺寸1943x1548
electrocardiograph
图片尺寸2320x3408
出售fukuda denshi electrocardiograph fx-7402 & 10
图片尺寸1280x854
electrocardiograph and method of displaying electrocardiographic
图片尺寸1696x1790
electrocardiograph with extended lead function, and
图片尺寸2108x2634
twa measuring electrocardiograph, twa measuring meth
图片尺寸1949x2161
electrocardiographe
图片尺寸1760x2056
electrocardiograph with extended lead function, and
图片尺寸1778x2326
electrocardiograph with extended lead function, and
图片尺寸2057x2684
专利us6735464 - electrocardiograph system and its
图片尺寸2539x3633
twelve channel electrocardiograph (em-1203) - twe
图片尺寸300x300
multiple parameter electrocardiograph system
图片尺寸2255x2184
digital electrocardiograph / 12-channel / with to
图片尺寸800x533
electrocardiograph apparatus capable of discerning th
图片尺寸2320x3408
textbook of electrocardiograph
图片尺寸1200x1600