enlarging

enlarging nato
图片尺寸270x290
enlarging america
图片尺寸270x399
pills sexual potency libido sex orgasm erection penis enlarging
图片尺寸400x400
maxman men penis enlarging cream big size long lasting sex aid
图片尺寸800x800
090008enlarging the place of our tent090009 lva - danbury
图片尺寸357x462
海外直订enlarging the euro area 扩大欧元区
图片尺寸800x800
预订law in context:enlarging a discipline
图片尺寸800x800
vintage 1963 kodak enlarging in black & white and color data
图片尺寸286x400
创业那些事2
图片尺寸960x1080
【预订】enlarging the therapeutic circle: the therapists guide
图片尺寸333x500
larger lifting fast tight firming effective big bust enlarging
图片尺寸720x405
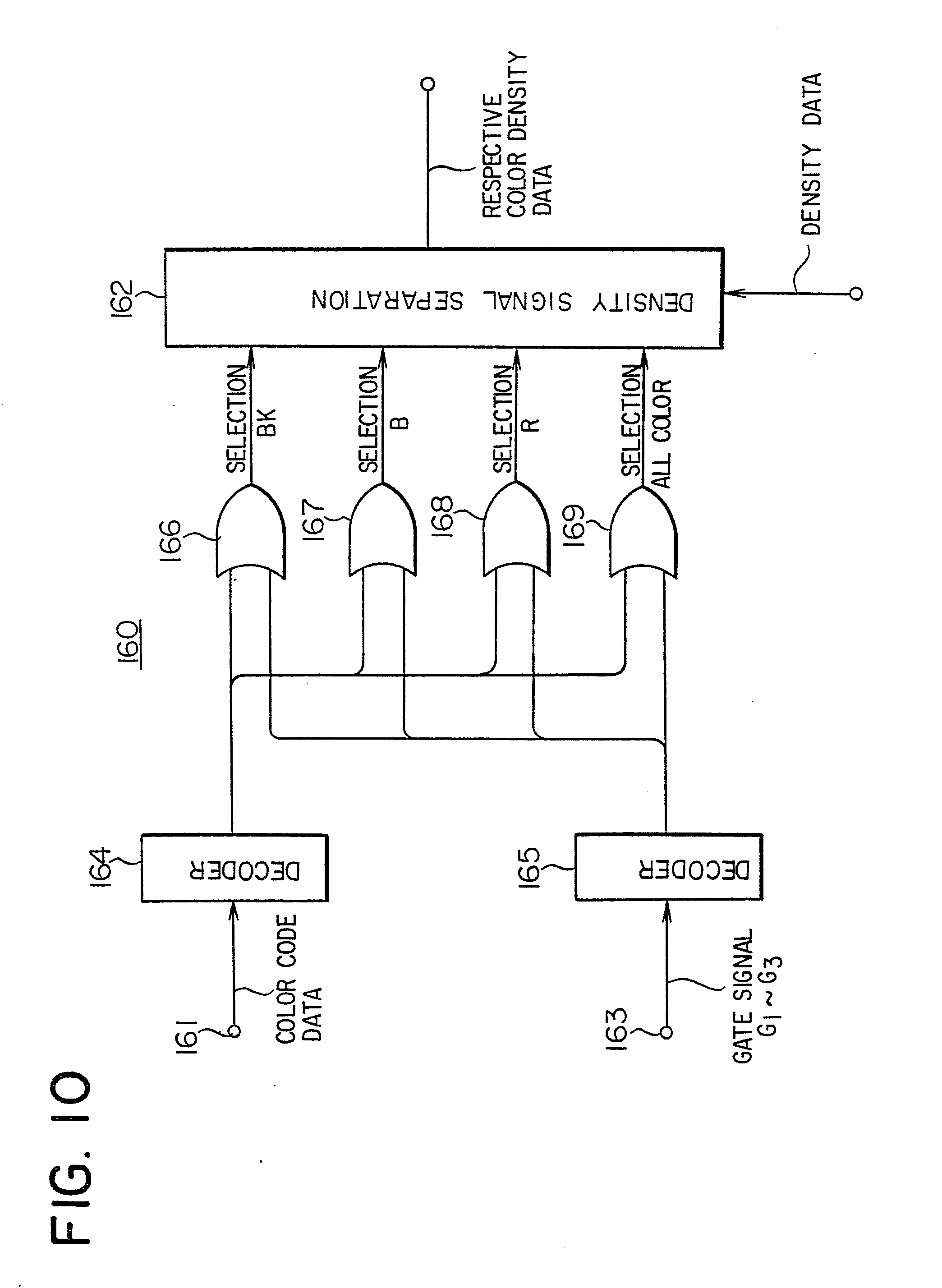
image processing apparatus capable of enlarging/reducing
图片尺寸2080x3157
electronic endoscope apparatus enlarging a still image
图片尺寸1982x2642
for those who love playing word games and enjoy enlarging their
图片尺寸480x800
namely, diasporic writing is sometimes aimed at enlarging ones
图片尺寸364x545
【预订】enlarging the therapeutic circle: the therapists guide
图片尺寸282x425
海外直订医药图书enlarging the therapeutic circle: the therapists
图片尺寸800x800
bromide printing and enlarging
图片尺寸270x405
预订laws humility: enlarging the scope of jurisprud
图片尺寸333x499
image processing apparatus capable of enlarging/reducing
图片尺寸2089x2856