euler公式

所有学生的噩梦,"数学之王"欧拉究竟有多牛,"开挂"般的人生_公式_学科
图片尺寸1264x816
我们继续使用欧拉公式,上述结论可以转换为如下样式
图片尺寸640x359
欧拉公式eulersformula
图片尺寸1178x656
将euler变换应用于后面的序列,将获得以下结果
图片尺寸640x541
fclose(stdin);fclose(stdout);return0;printf("%d",ans);ans=euler
图片尺寸729x599
试听165秒【数学】上帝创造的公式长什么样?复变函数和欧拉公式
图片尺寸1000x618
eulers formula
图片尺寸600x350
数学中最基本的自然常数e的由来,e代表欧拉(euler)吗?
图片尺寸634x382
因为e是自然对数函数的底数,又被称为欧拉数(euler number).
图片尺寸720x441
【数学之美】解析欧拉公式:复数与三角函数的完美结合!
图片尺寸2276x1280
此式称为欧拉(euler)公式
图片尺寸454x279
eulers formula
图片尺寸600x300
带你证明最美公式——欧拉公式
图片尺寸1620x1012
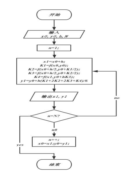
方程初值问题_改进euler公式的局部截断误差_改进的欧拉公式_404技术
图片尺寸475x626
欧拉公式 eiθ=cosθ isinθ e i θ = cos θ i sin θ
图片尺寸991x652
欧拉拓扑公式欧拉拓扑公式欧拉拓扑公式
图片尺寸523x328
带你不同角度理解欧拉公式(eulers formula)
图片尺寸577x289
> 欧拉公式
图片尺寸1080x810
这个强大的方程式以传奇的数学家莱昂哈德·欧拉(leonhard euler)的
图片尺寸900x572
很多人真正爱上数学是从欧拉公式开始的它到底有怎样的魔力
图片尺寸960x403