evacuation slide

have an evacuation plan
图片尺寸1024x649
inflatable evacuation slide with arch support
图片尺寸2522x3482
evacuation slide inflatable emergency escape yacht slide door
图片尺寸599x599
emergency evacuation slide
图片尺寸360x261
inflatable emergency escape slide / evacuation slide inflatable
图片尺寸540x960
extensible evacuation slide
图片尺寸2170x2340
hospital medical equipment evacuation slide
图片尺寸640x640
escape slides, emergency aircraft escape slide, evacuation slide
图片尺寸300x300
inflatable evacuation slide with arch support
图片尺寸2553x4077
atlantics gmbh | the slide manufacturer | evacuation slides
图片尺寸312x225
multi-exit combined evacuation slide
图片尺寸1949x2480
evacuation slide deploys mid-flight, inside plane
图片尺寸512x295
inflatable evacuation slide with arch support
图片尺寸2639x3996
aircraft cabin evacuation training escape slide
图片尺寸400x300
womandetainedforactivatingaircraftevacuationslide
图片尺寸374x450
inclined single slide of marine evacuation system
图片尺寸560x420
evacuation (2023)边玩边学规则 evacuation - learn while playing
图片尺寸1135x851
aircraft evacuation slide with primary gas relief valve
图片尺寸2217x3114
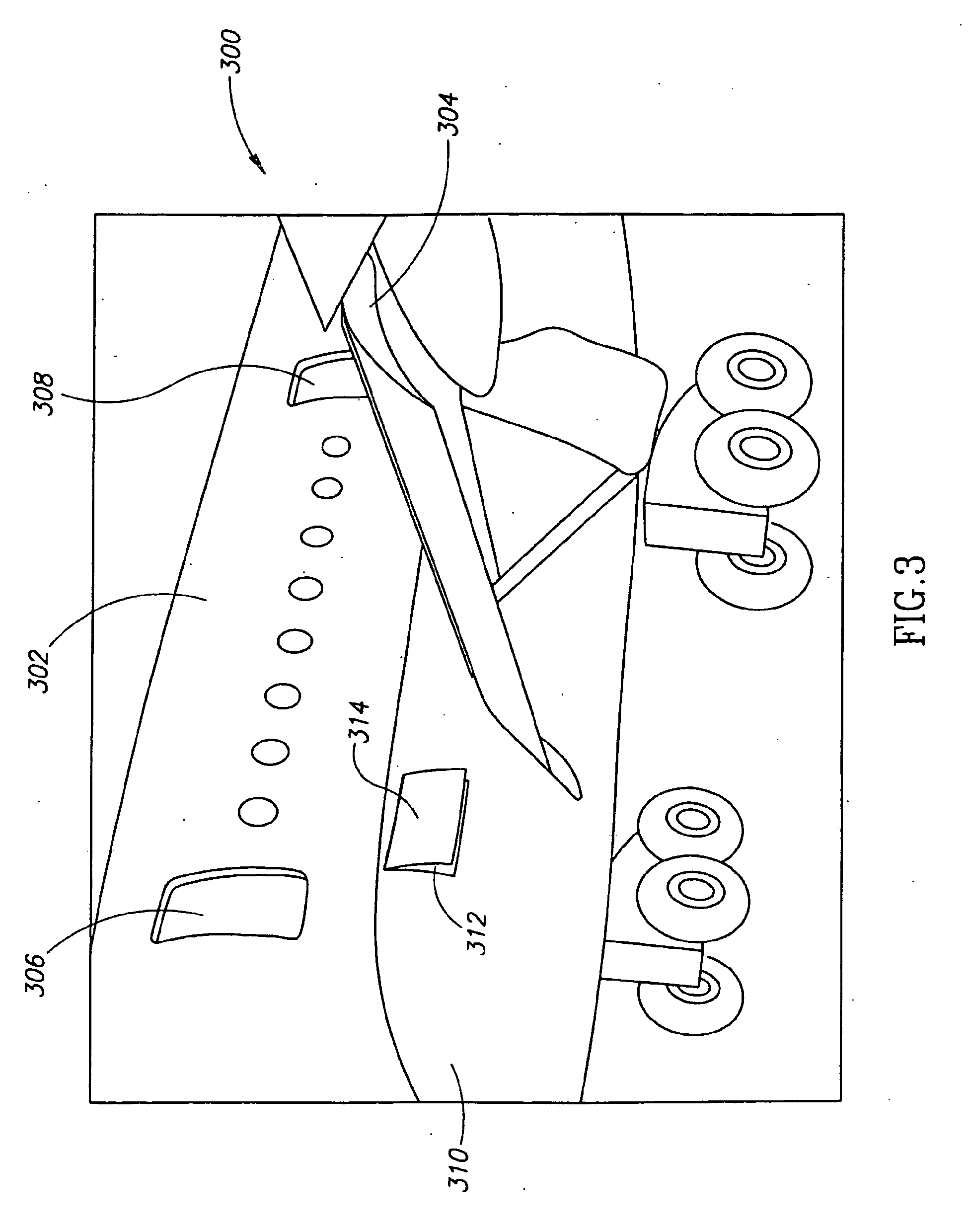
evacuation slide with toe end center support member
图片尺寸3402x2597
inflatable evacuation slide with adjustable decelerator
图片尺寸2680x3892