facility

解析四级词汇:facility
图片尺寸1023x682
facility life extension的定义
图片尺寸670x349
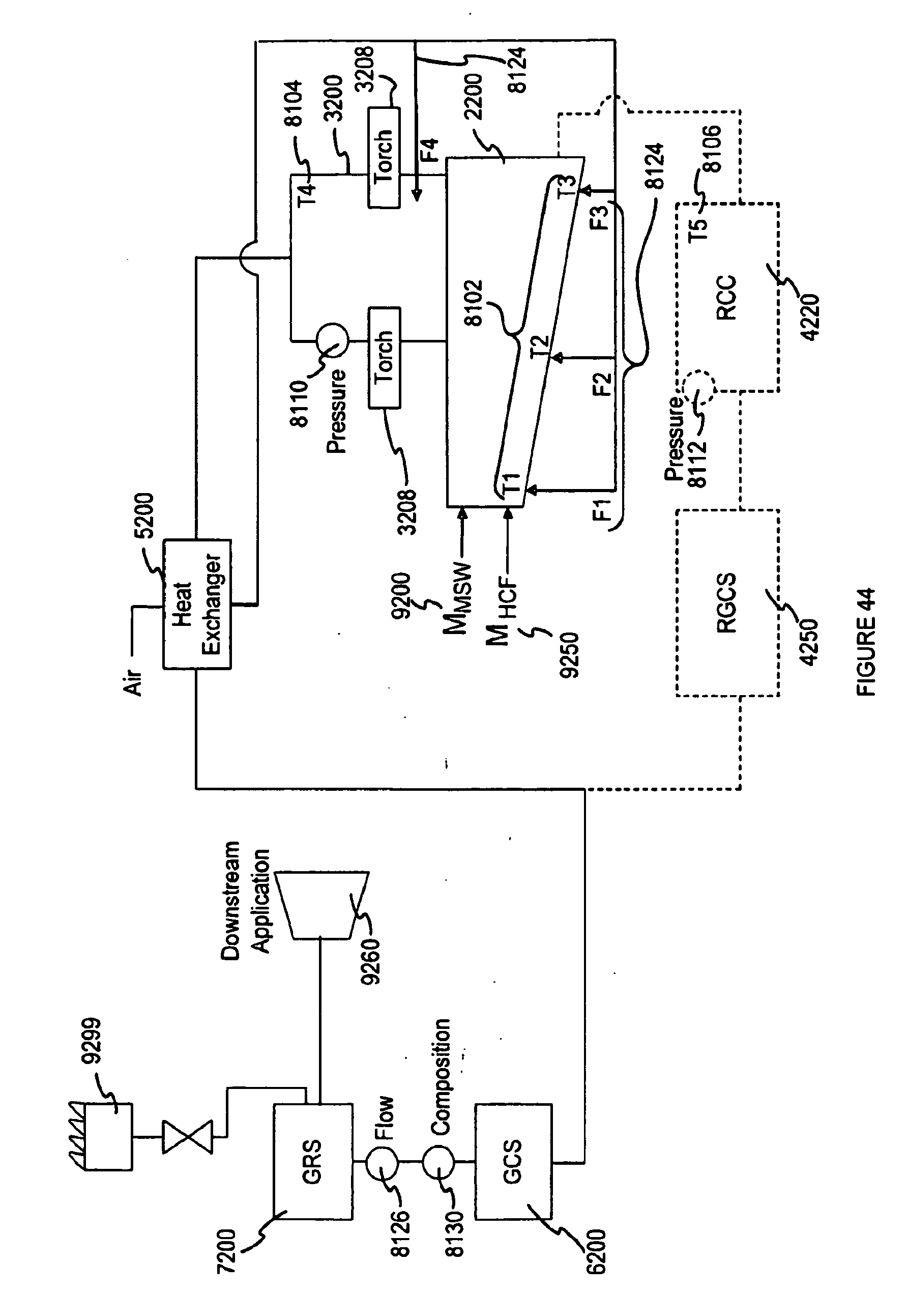
a low temperature gasification facility with a horizontally
图片尺寸1783x2539
facility management services for commercial and residential
图片尺寸400x300
state of the art facility
图片尺寸1920x1280
security 99 | facility maintenance & security products
图片尺寸1500x560
how to choose the best addiction treatment facility los angeles
图片尺寸700x506
预订 facility layout
图片尺寸330x499
quality service to your facility
图片尺寸940x632
controlled substance-correctional facility
图片尺寸1024x585
word cloud - facility management
图片尺寸1500x922
original herbaceous refrigerator air clean facility filter f
图片尺寸750x750
sustainable facility management
图片尺寸530x537
预售 按需印刷facility management 2nd edition
图片尺寸904x1360
(sem) at the manufacturing engineering research facility at
图片尺寸1600x900
facilityvalidation
图片尺寸270x415
fire at irans underground nuclear facility caused significant
图片尺寸638x424
body of water facility digital technology background
图片尺寸638x260
预订 facility managers guide to security: protecting your
图片尺寸259x400
scifi railroad terminal facility (nanite)科幻铁路终端设施ue5
图片尺寸800x800