fancowl

11 foot lnc pylon with technician working in fan cowl area of
图片尺寸900x1068
wacowla 哇靠!洛杉矶 los angeles
图片尺寸1079x854
craftsy exclusive: feather & fan cowl kit
图片尺寸1024x768
a fan favorite, this breathable knit sweater features a cowl
图片尺寸800x1227
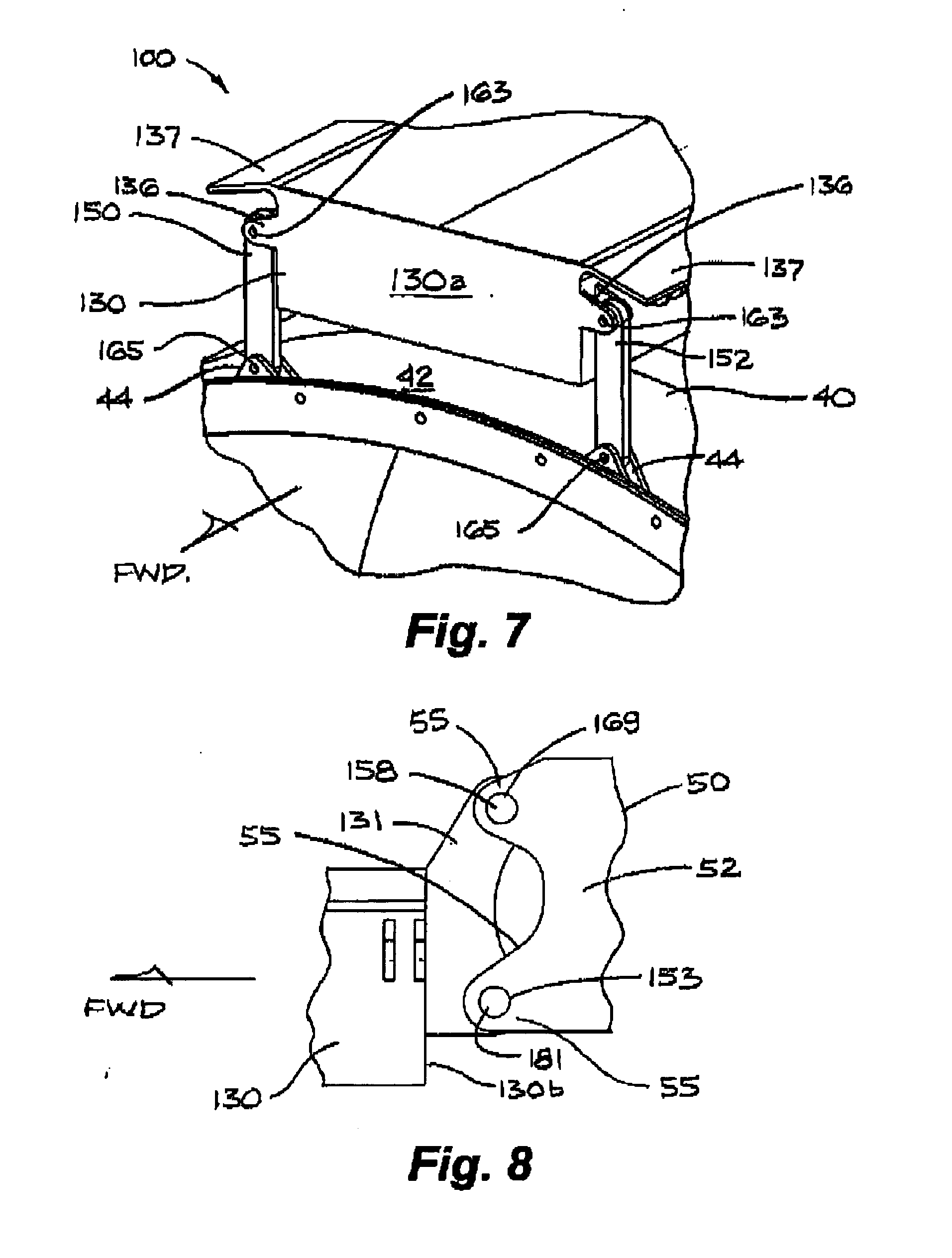
fan cowl support for a turbofan engine
图片尺寸1821x2203
a fan favorite, this breathable knit sweater features a cowl
图片尺寸700x1073
fan cowl support for a turbofan engine
图片尺寸1807x2752
fdprintrbot_simple_2014_fan_cowl_bypass2.stl
图片尺寸628x472
fan cowl - upper- discovery ii
图片尺寸500x385
fan cowl support for a turbofan engine
图片尺寸1913x2528
fan cowl support cradle mounted on the attachment pylon and on
图片尺寸2233x2771
fan cowl support for a turbofan engine
图片尺寸1807x2433
leap-1a-fancowl-leadingedgedamage(风扇包皮前缘风蚀损伤)
图片尺寸1440x1080
credit: two management
图片尺寸599x906
hoodwinked slouchy hooded dog cowl by
图片尺寸570x855
电gadget: panasonic lumix g2 相机
图片尺寸570x450
aircraft engine assembly comprising a fan cowl-supporting cradle
图片尺寸2651x1986![产品描述: volt[v]:12 watt[w]:260 diameter[mm]:385 fancowl](https://imgs.wantubizhi.com/img/ADDA3C5D760C6828B77B505A29D43E839E08F8AA42A1938C24D61D3AD3C31D736C3001FB6C3851A2200DFA788612395E1EA67E94E9B1BF5D736AECD7FE452311CC66F770F3DBCF465372F6325345F4F873156265DAA31B3E44CCA6299139826D)
产品描述: volt[v]:12 watt[w]:260 diameter[mm]:385 fancowl
图片尺寸450x450
middle east
图片尺寸1280x721
高清晰绿黑雅马哈stryker bullet cowl摩托车壁纸
图片尺寸2880x1800