feste

英文名feste的谐音中文名
图片尺寸640x360
feste textilwaschmittel-formulierung enthaltend glycin-n, n-dies
图片尺寸1253x2643
feste brandschutzfenster in all.biz
图片尺寸594x600
van bol & feste图片 - 第1张
图片尺寸519x700
feste / feiern
图片尺寸1024x946
预订 feste syntagmen
图片尺寸467x680
universelle feuerstelle für feste brennstoffe
图片尺寸1928x3088
hochfeste verbundkeramik, verfahren zu ihrer herstellung sowie
图片尺寸1989x2583
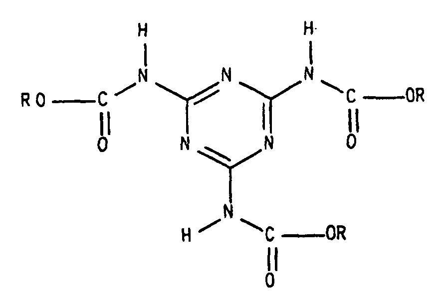
feste verarbeitungszusammensetzung für photographisches, lich
图片尺寸1536x2388
em>festerest /em>
图片尺寸800x500
feste / feiern
图片尺寸1024x860
kalt gestanzte rutschfeste struktur einer metalplatte
图片尺寸1952x2375
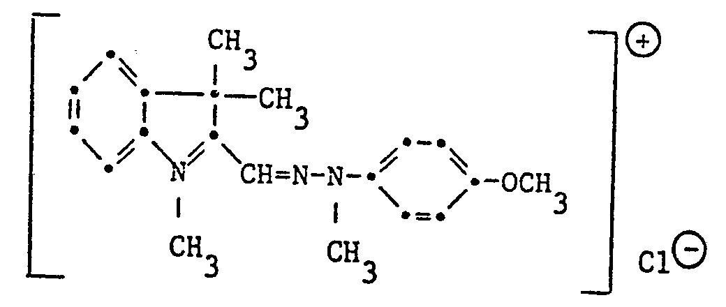
feste form einer mischung von kationischen farbstoffen
图片尺寸1040x440
预订【德语】feste, die wir lieben:partykonzepte für besondere
图片尺寸800x800
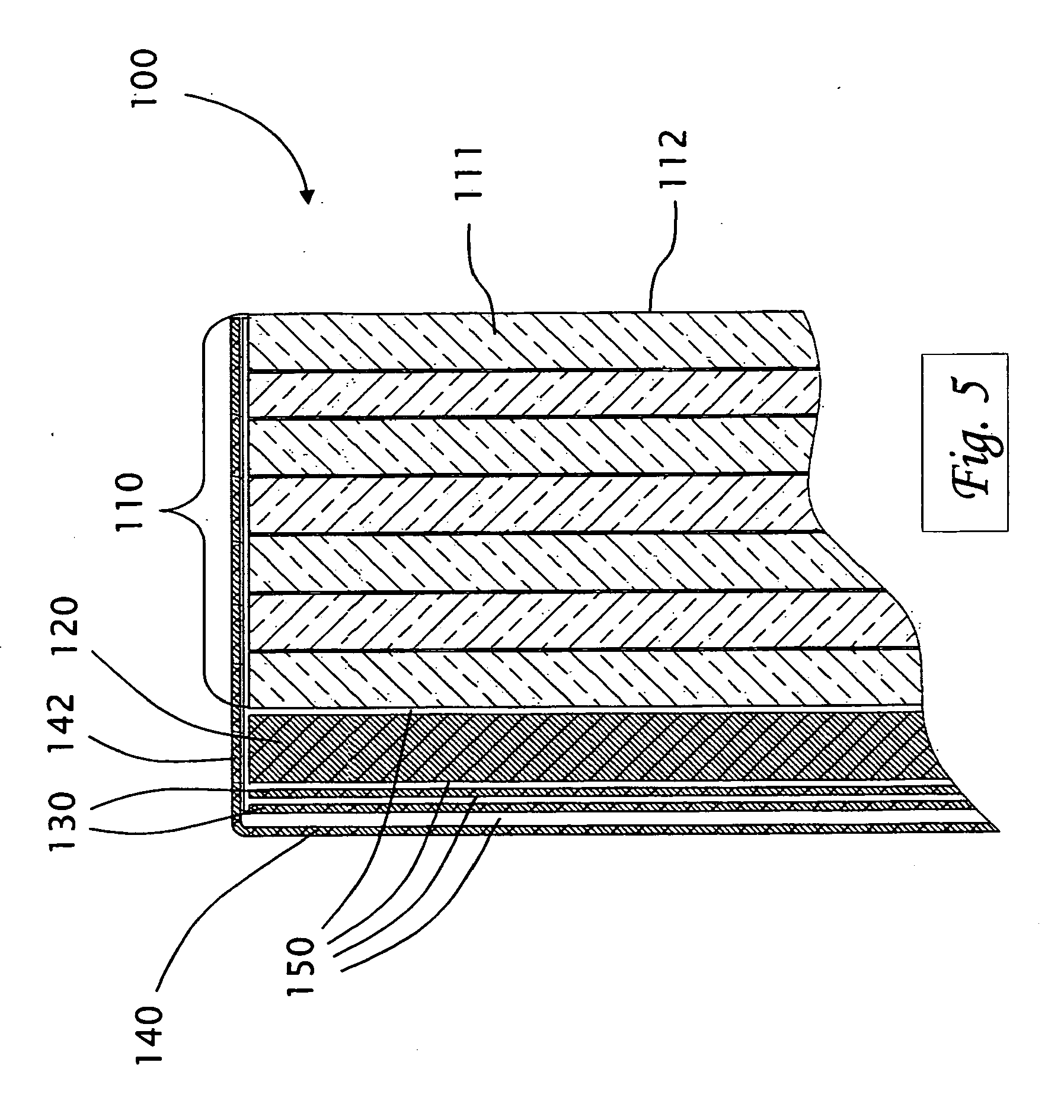
hochkratzfeste mehrschichtlackierung, verfahren zu ihrer
图片尺寸896x600
feste / feiern
图片尺寸1024x749
unvergebliche kinderfeste: (tolle dekorationen, spiele und
图片尺寸1124x1342
frauen-art und weise o-ansatz sleeveless feste trgershirts
图片尺寸501x668
rosa frauen sleeveless feste hohe niedrige rüsche-beilufiges
图片尺寸501x668
explosionssichere und stossfeste fensterglassysteme
图片尺寸1795x1890