film grain

10款胶片噪点漏光效果纹理 film grain textures & light leaks
图片尺寸1820x1214
【免费娱乐app】filmgrain|线上玩app不花钱
图片尺寸350x350
fcpx插件:35mm电影胶片颗粒 cinema film grain
图片尺寸2720x1530
ezra cohen – 16mm film grain textures
图片尺寸1200x673
微帧filmgrain编码技术致敬电影胶片颗粒的独特魅力
图片尺寸1981x986
film texture - grain explosion by jakezdaniel
图片尺寸658x494
25xt-484196 film grain textures & light leaks5.jpg
图片尺寸840x560
10款胶片噪点漏光效果纹理 film grain textures & light leaks
图片尺寸1820x1214
film grain & dust texture overlay
图片尺寸600x400
一, pixeltools film grainpixeltools是我们想让大家熟悉的第一款
图片尺寸812x399
film grain extraction filter
图片尺寸1936x2363
4k高清视频素材老电影效果质感电影胶片颗粒4kfilmgrain
图片尺寸824x476
微帧filmgrain编码技术致敬电影胶片颗粒的独特魅力
图片尺寸2480x900
cinemafilmgrain12款独特电影胶片颗粒覆盖层视频素材3395
图片尺寸1500x691
50款复古老式电影纹理背景ps叠加层图片设计素材 50 film grain
图片尺寸1160x774
潮流复古自然光漏光杂点照片处理叠加层ps设计素材filmgrainlightleak
图片尺寸2340x1560
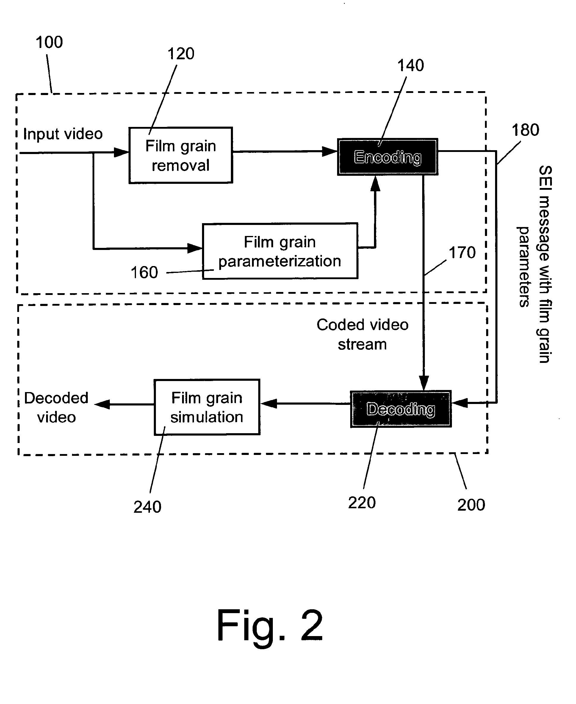
method for simulating film grain by mosaicing pre-computer
图片尺寸1758x1934
31款胶片噪点漏光效果纹理素材filmgraintexturesfilmmockups
图片尺寸1820x1214
复古电影朦胧感光线叠加纹理素材filmgraintextureslightleaks
图片尺寸1280x853
微帧filmgrain编码技术致敬电影胶片颗粒的独特魅力
图片尺寸2538x1208