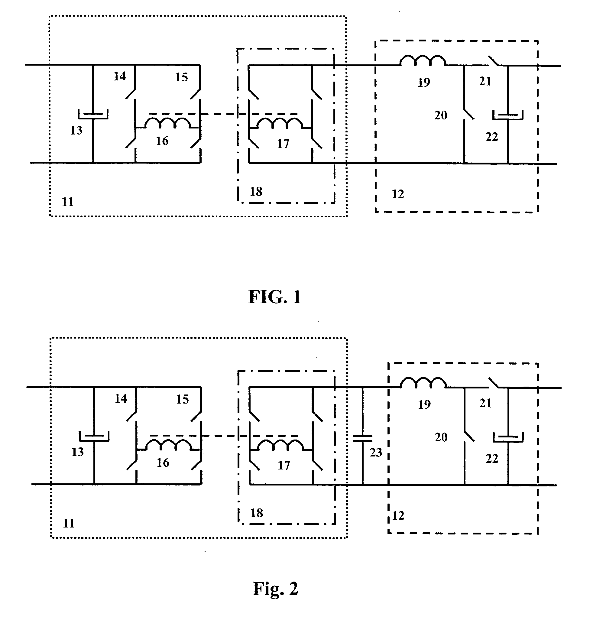
forte puissance

convertisseur de forte puissance à découpage
图片尺寸1952x2051
垂叶鹰爪草
图片尺寸960x720
flower,green,nature,passiflora,passion,passion flowe
图片尺寸4288x2848
生化危机历代病毒资料历代所出现过的病毒资料总汇
图片尺寸550x484
艳星菲比·普莱斯碎花裙招摇过市 俯身秀八字奶
图片尺寸803x1024
花束,百合属,玫瑰,菊花,白色背景,花瓶,花卉,照片
图片尺寸1270x1024
过生日送朋友这个会挨打吗?0000明明很可爱
图片尺寸1080x1440
连翘(forsythia suspensa) (0).jpg 相邻时间拍摄的照片 张
图片尺寸740x1109
南山138展览预告柳迪巨人的花园
图片尺寸1080x810
在途elizabeth雅顿橘灿精华50ml圣诞套装
图片尺寸1024x1024
(selon la puissance du four) 烹饪时间:3-10分钟 (取决于烤箱的
图片尺寸402x228
埃丝特威廉斯,竞技游泳运动员,女商人,女演员,aquamusicals,40的,50的
图片尺寸1024x1333
forsythia wallpaper
图片尺寸2880x1800
euro-synergies
图片尺寸500x326
6.23生日花:仙女鞋(ladys s.
图片尺寸658x432
dans cette entonnoir une mine de forte puissance a explosé en
图片尺寸500x375
generateur dimpulsions electriques de forte puissance
图片尺寸1382x1783
la corée du sud garde la première place grce à sa puissance
图片尺寸1080x675
tube électronique à vide de très forte puissance à anode ref
图片尺寸1840x1905
gros igbt de forte puissance
图片尺寸640x480