fortepuissance

生化危机历代病毒资料历代所出现过的病毒资料总汇
图片尺寸550x484
大推力科技结晶-重型运载火箭
图片尺寸1024x724
歌手,配音演员abby trott在接受外媒puissance nintendo采访时,abby
图片尺寸550x309
et sociale sous la cinquième république : une puissance à
图片尺寸270x379
五十铃美图赏析
图片尺寸688x960
dispositif de contact pour contacteur de forte puissance
图片尺寸1878x2752
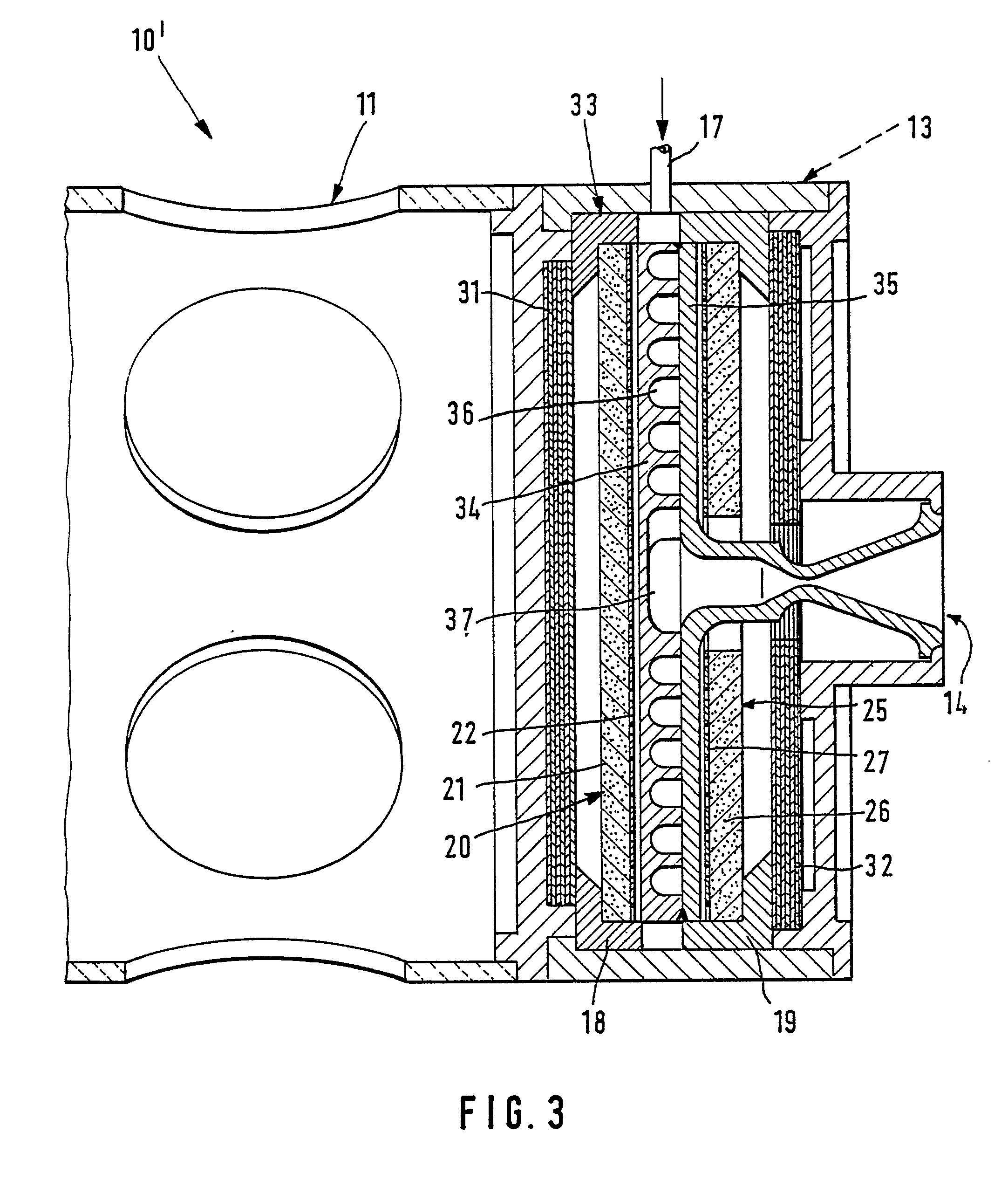
generateur dimpulsions electriques de forte puissance
图片尺寸1382x1783
fusée à forte puissance
图片尺寸2164x2547
tube électronique à vide de très forte puissance à anode ref
图片尺寸1888x1933
scalexio autobox - dspace
图片尺寸1200x675
high-power"的简称)或是"gp"(法国人的名称:"grandepuissance"的简称)
图片尺寸615x420
留法数据全球留学市场竞争法国立志进前三
图片尺寸1080x1074
dans cette entonnoir une mine de forte puissance a explosé en
图片尺寸500x375
des civilisations ont conquis leurs voisins par la puissance de
图片尺寸1000x666
(法语the modele 1935 pistolet autamatique grand puissance的缩写)
图片尺寸1920x1200
《大坏狐狸的故事》:动起来的绘本,超级可爱!
图片尺寸554x311
jouit de la gloire militaire, de la richesse et de la puissance
图片尺寸400x367
伟人总有两面性:法国人最崇拜谁?
图片尺寸500x593
泪》amiibo大量备货,将早于游戏发售根据法国塞尔达粉丝网站puissance
图片尺寸1000x659
puissance 4加速器
图片尺寸300x300