hedged

hedged_百度视频搜索
图片尺寸352x234
the park is hedged in by water and is peaceful and beautiful
图片尺寸700x466
hedged in ltd quality artificial hedge supplier
图片尺寸900x675
how have rate-hedged bond etfs protected retirees?
图片尺寸890x501
rbc quant european dividend leaders (cad hedged) etf
图片尺寸294x386
dailypainting867hedgederpbycryptidcreations
图片尺寸658x566
hedged in ltd quality artificial hedge supplier
图片尺寸900x506
预订hedged out:inequality and insecurity on wall street
图片尺寸800x800
jones)创立了世界上第一只对冲基金(hedged fund),他通过采取买入一
图片尺寸480x320
hedged in ltd quality artificial hedge supplier
图片尺寸900x675![userpage of hedgedhog -- fur affinity [dot] net](https://imgs.wantubizhi.com/img/735A5D1F980B52A636CC46F12F2D1A73B7CA29F03F27D7CD736CCB49A3CB51689C6AADFF08438A99263133684167170BC77643B38544AB2C31EDD2161C868723D3F4FC2FAAA428342544F63A98038C10EBDBB3E49F73C63CC9F6EE0BB94B2640)
userpage of hedgedhog -- fur affinity [dot] net
图片尺寸471x600
jones)创立了世界上第一只对冲基金(hedged fund),他通过采取买入一
图片尺寸1033x714
making money with math: hedged convexity capture
图片尺寸298x475
understandinghedgedscaletrading
图片尺寸270x406
artichoke bloom in the hedged potager kitchen garden
图片尺寸1024x575
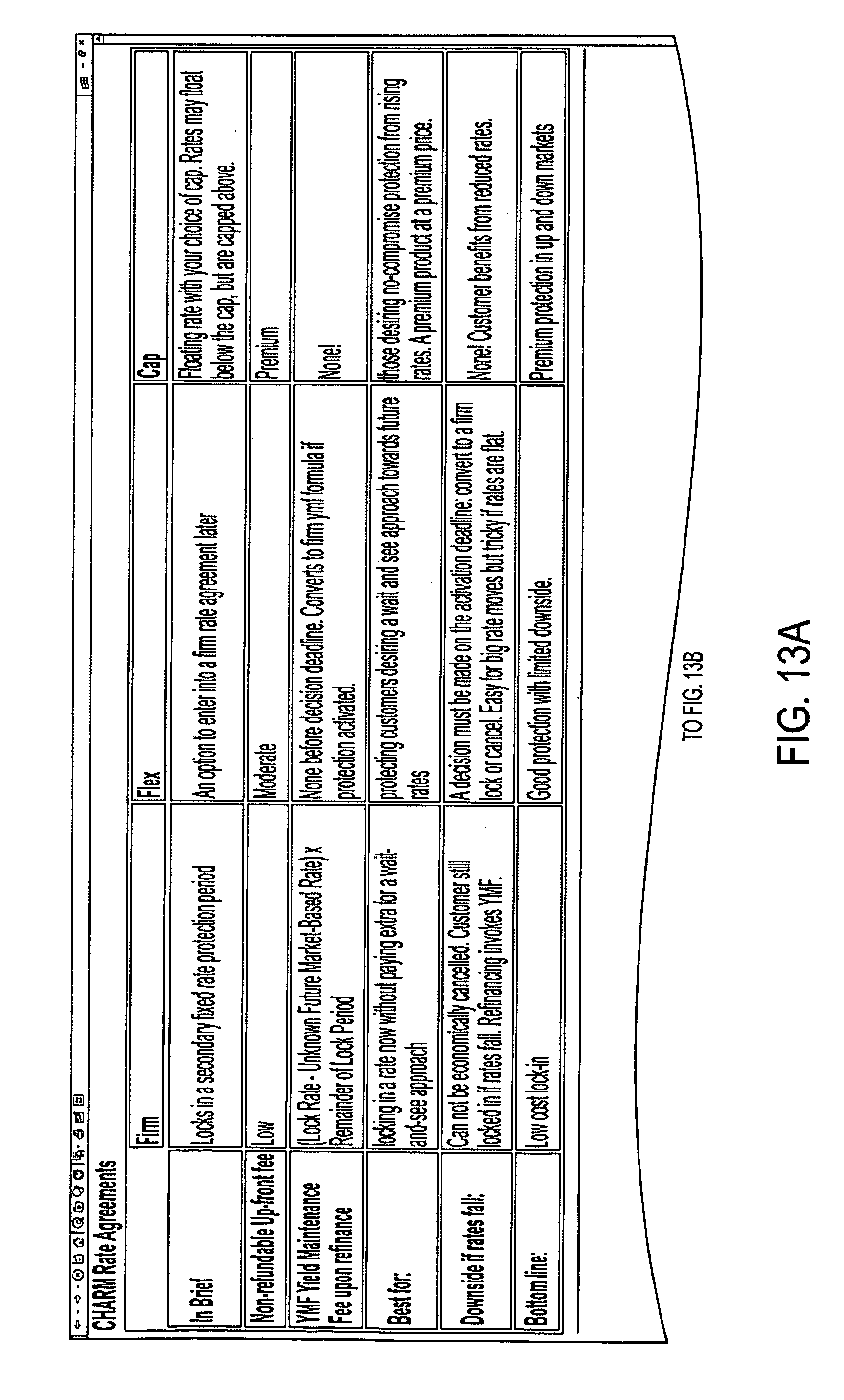
system and method for providing a custom hedged adjustable rate
图片尺寸1783x2867
system and method for providing a custom hedged adjustable rate
图片尺寸1831x2861
global bonds: you asked, we hedged
图片尺寸1600x760
system and method for providing a custom hedged adjustable rate
图片尺寸1725x2859
hedged road
图片尺寸1200x897