hydrogen sulphide

partial combustion of hydrogen sulphide
图片尺寸2106x3182
sodiumhydrogensulphide,sodiumhydrogensulfide,sodiumsulfhydrate
图片尺寸332x202
片状固体硫氢化钠,硫氢化钠工业级(龙耀)选矿,皮革,质量保障
图片尺寸1080x1440
hydrogen sulphide
图片尺寸480x480
1551-21-9 甲基异丙基硫醚 isopropyl methyl sulphide - cas数据库
图片尺寸400x400
partial oxidation of hydrogen sulphide
图片尺寸1961x665
chemical nahs sodium hydrogen sulphide flakes high purity - buy
图片尺寸640x640
海外直订a study of hydrogen sulphide production by bacteria and
图片尺寸800x800
二叔丁基四硫醚 中文别名: 英文名称: di-tert-butyl tetrasulphide
图片尺寸400x400
优质液体认证硫化钠60% min - buy sodium sulphide,sodium sulphide
图片尺寸1724x2724
木可西硫化氢气体检测管hydrogen sulphide测毒管 20支10-200ppm
图片尺寸800x800
hydrogen sulphide_joss mars&the vice_单曲在线试听_酷我音乐
图片尺寸500x500
chemical formula for hydrogen sulfide images
图片尺寸350x350
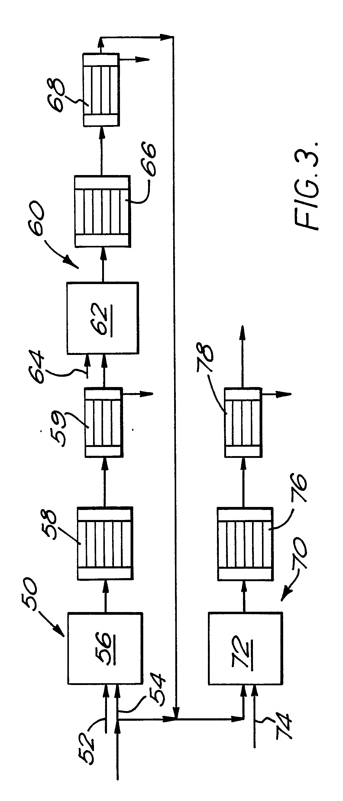
treatment of gas streams comprising hydrogen sulphide
图片尺寸1135x2645
别名:2-(isopropylthio)ethanol; 2-hydroxyethyl isopropyl sulphide
图片尺寸400x400
process for quick elimination of hydrogen sulphide contained in
图片尺寸712x345
工程科技 能源/化工 硫化氢防护与安全培训ppt hydrogen sulphide
图片尺寸1080x810
process for the oxidation of hydrogen sulphide to elemental
图片尺寸897x639
partial oxidation of hydrogen sulphide
图片尺寸1831x2848
对二氟甲硫基苯胺
图片尺寸242x137