inertialforce

inertial force, "dark m
图片尺寸500x674
惯性漂移 - inertial drift | indienova gamedb 游戏库
图片尺寸640x360
inertial force_experimental sound_单曲在线试听_酷我音乐
图片尺寸500x500
the genius of inertial navigation systems explained
图片尺寸1728x1080
hecoefficientsoftherobertsontransformationsforinertialsystems
图片尺寸270x351
年2月12日,闫昻团队以"magnetophoresis-enhanced elasto-inertial
图片尺寸930x930
5 惯性力(inertial force) 惯性:保持物体运动状态的能力.
图片尺寸1080x810
惯飘移inertialdrift大路叶子4k超清游戏图片图片
图片尺寸1200x675
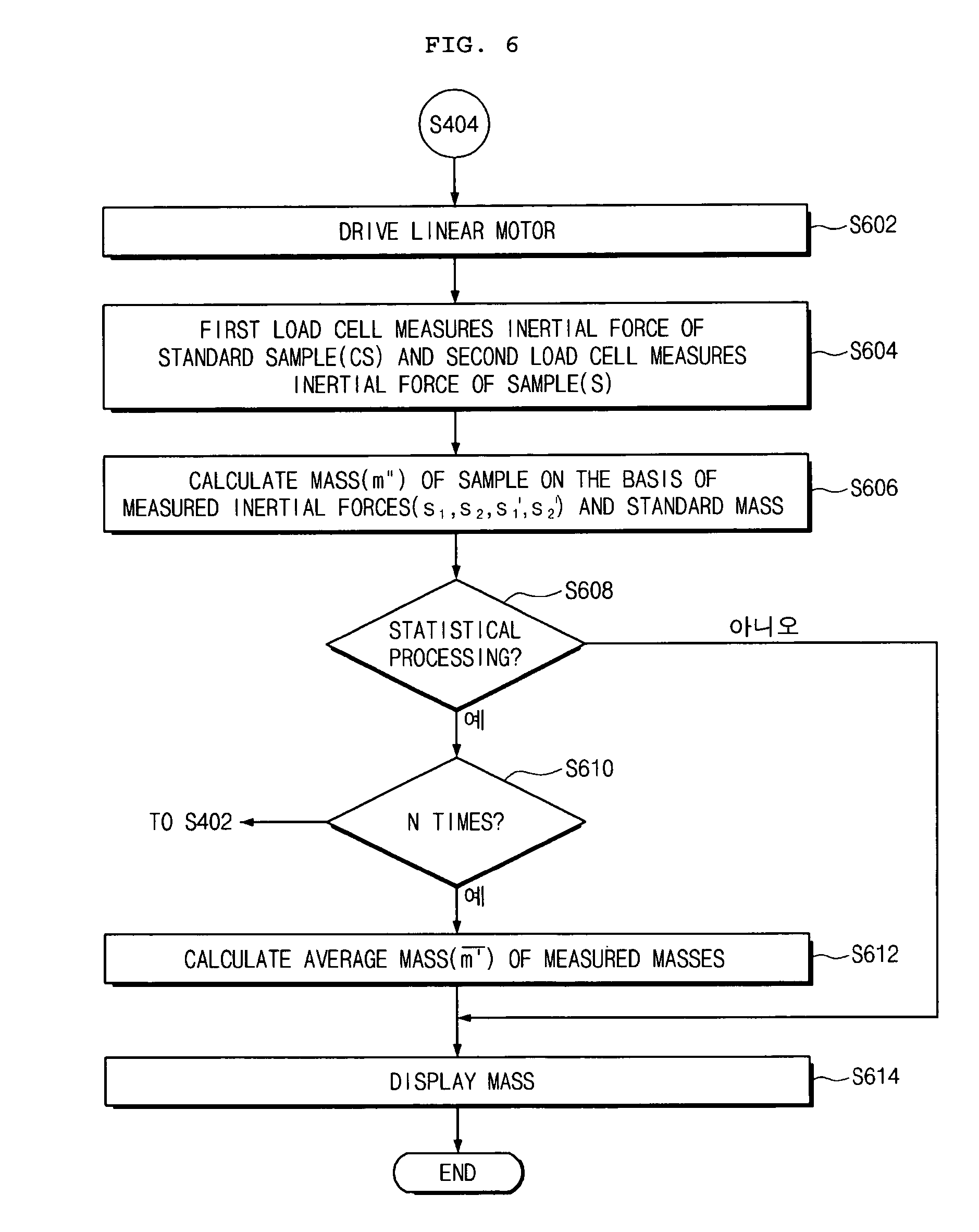
mass measurement system and method using inertial force and
图片尺寸1879x2363
visualinertialodometry
图片尺寸2626x1646
沿自motogp技术,首度出现在民用车上的六轴imu惯性测量单元(inertial
图片尺寸800x533
惯性测量单元 inertial measurement unit
图片尺寸930x752
器械受力加速时,对举重者产生惯性力 inertial force,可向各个方向
图片尺寸2000x1125
下图为地心惯性系(earth centred inertial (eci) frame).
图片尺寸500x439
inertial guidance system installed on apollo spacecraft
图片尺寸720x560
an imu or inertial measurement unit is an electronic device that
图片尺寸402x225
amr实现高精定位,智游者推出工业级imu模组zyh143 imu全称inertial
图片尺寸800x626
inertial force sensor
图片尺寸1899x3114
inertial force sensor
图片尺寸1701x1337
inertialdrift
图片尺寸480x270