infrontof简笔画

丧尸形态 假面骑士-究极打灰牛牛97 完成~~don buffa( 这张画得太久
图片尺寸899x1280
怎么修图瘦脸图片-怎么修图瘦脸素材-怎么修图瘦脸插画-摄图新视界
图片尺寸300x300
【动向】西门子歌美飒风力涡轮机质量问题"超出预期"
图片尺寸1080x776
介词中的上下左右里外前后inthefrontofinfrontof等的使用和区别
图片尺寸870x578
手绘 环太平洋
图片尺寸1600x2133
圣诞节背景图片
图片尺寸320x318
groot 001 gif
图片尺寸658x494
how to draw a mastiff, bullmastiff dog
图片尺寸2160x2160
原创埃及最新发现女祭司墓仿佛4400年前古埃及的繁荣就在你眼前
图片尺寸512x340
「lstm 之父」亲笔万字长文,只为向世人证明:深度学习不是在母语为
图片尺寸466x466
看图选择合适的单词完成句子
图片尺寸758x299
pep五年级上册my new room b talk 第二课时ppt
图片尺寸1080x810
dc transformer with an output inductance integrated
图片尺寸1715x2452
fine fiber electro-spinning equipment, filter media
图片尺寸1979x1738
动漫霸气狮子动漫插画狮子不得不吃人照片
图片尺寸241x300
每日摘抄04我的丑贴画越来越传神了
图片尺寸1080x1439
inflatable cushion having a warming function
图片尺寸1761x2409
unite miniature sans fil de neurostimulation ou d
图片尺寸1630x2717
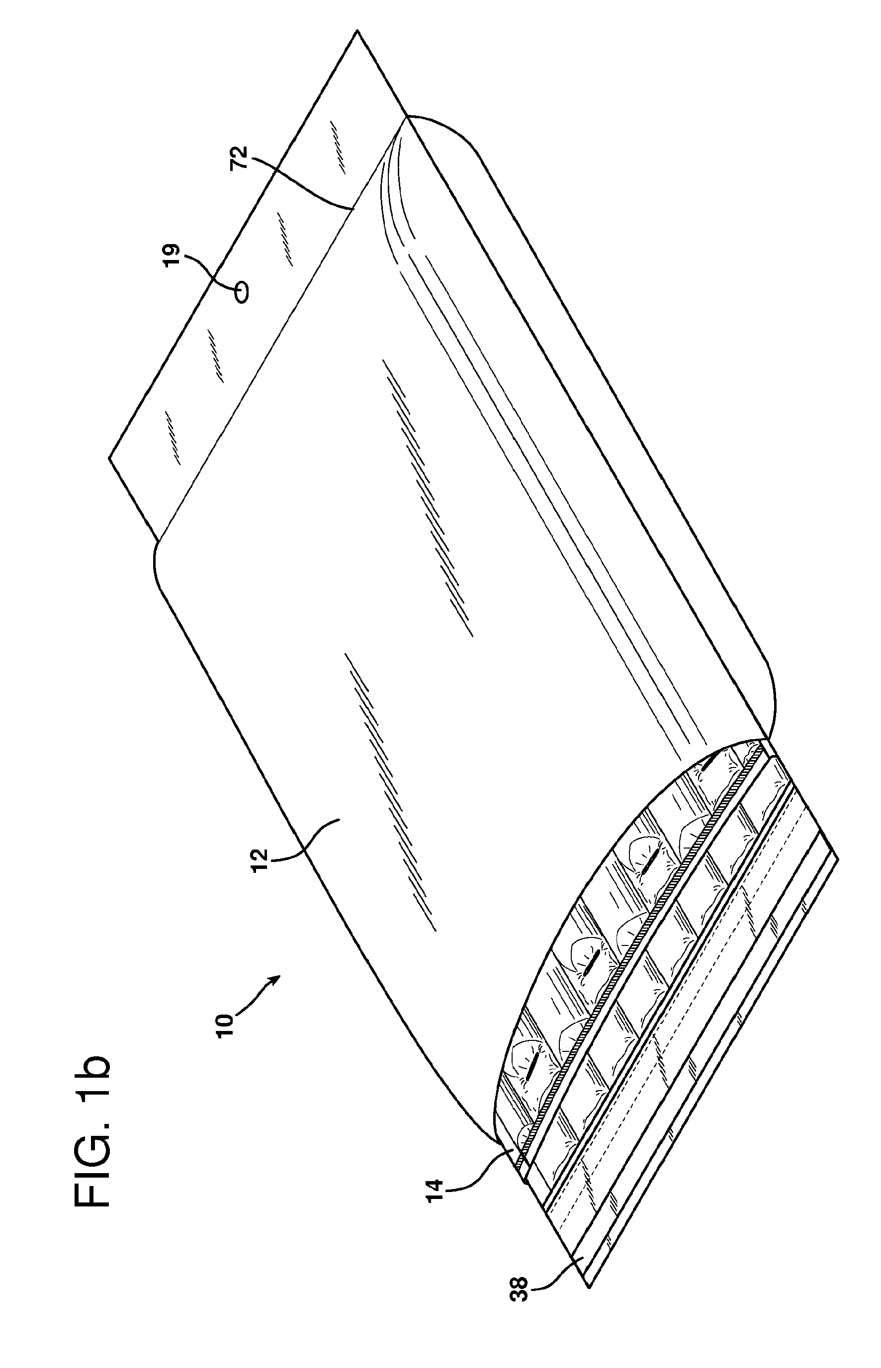
inflatable mailer and method for making the same
图片尺寸1772x2752
cartoon ghost | 图库矢量图片 08 lineartestpilot #19767285
图片尺寸1024x1024