ink jet

ink-jet recording apparatus and method for driving the same
图片尺寸1505x2662
thermal ink jet printhead with bubble formation surrounding
图片尺寸1950x3010
thermal ink jet printer for printing an image on a receiver and
图片尺寸2486x2881
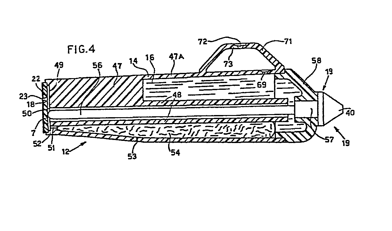
ink-jet cartridge and method of storing print head
图片尺寸1792x2348
thermal ink jet printhead with heater element that forms
图片尺寸1963x3054
ink-jet cartridge and method of storing print head
图片尺寸2180x2091
laser / ink jet white labels (1 x 2-5/8 - 30 per page
图片尺寸880x573
thermal ink jet printhead with bubble nucleation offset from ink
图片尺寸1988x3099
ink tank, ink-jet cartridge, ink-supplying apparatus, ink-jet
图片尺寸2339x3027
ink jet printer having multiple ink heads
图片尺寸2049x3147
thermal ink jet printhead with heater element having non-uniform
图片尺寸1965x2647
ink jet printhead incorporating heater element proportionally
图片尺寸2006x1685
ink-jet recording head and method for producing the same
图片尺寸2035x2465
ink-jet recording apparatus and maintenance method of ink-jet
图片尺寸1700x2451
ink-jet systems and methods using visible and invisible ink
图片尺寸728x518
50 ink jet printer a4 a5 paper with printing paper 230g box
图片尺寸800x800
ink jet recording head, method of producing the same, and ink
图片尺寸1408x2196
high density ink jet printhead with double-u channel actuator
图片尺寸1856x2808
ink jet recording apparatus utilizing solid semiconductor
图片尺寸2693x3443
专利ep0082718a2 - ink jet printing head - google 专利
图片尺寸1273x751