insertionforce

zero insertion force connector actuated by a stored shape member
图片尺寸2320x3408
zf5s-40-03-t-wt【zero insertion force .5mm assemb】
图片尺寸800x800
insertion force vertical manual push pull test stand for digital
图片尺寸800x800
zf5s-25-01-t-wt-tr【zero insertion force .5mm assemb】
图片尺寸800x800
zero-insertion-force connector structure
图片尺寸1513x1254
itt cannon dl zero insertion force connectors
图片尺寸616x629
zero insertion force electrical connector
图片尺寸1885x2212
专利us7147499 - zero insertion force printed circuit assembly
图片尺寸1752x1179
zf1-25-01-t-wt-tr《zero insertion force 1mm assembl》
图片尺寸800x800
pcb zero-insertion-force connector
图片尺寸2400x2702
zf5s-10-02-t-wt《zero insertion force .5mm assemb》
图片尺寸800x800
zero ate insertion force interposer daughter card
图片尺寸2234x2788
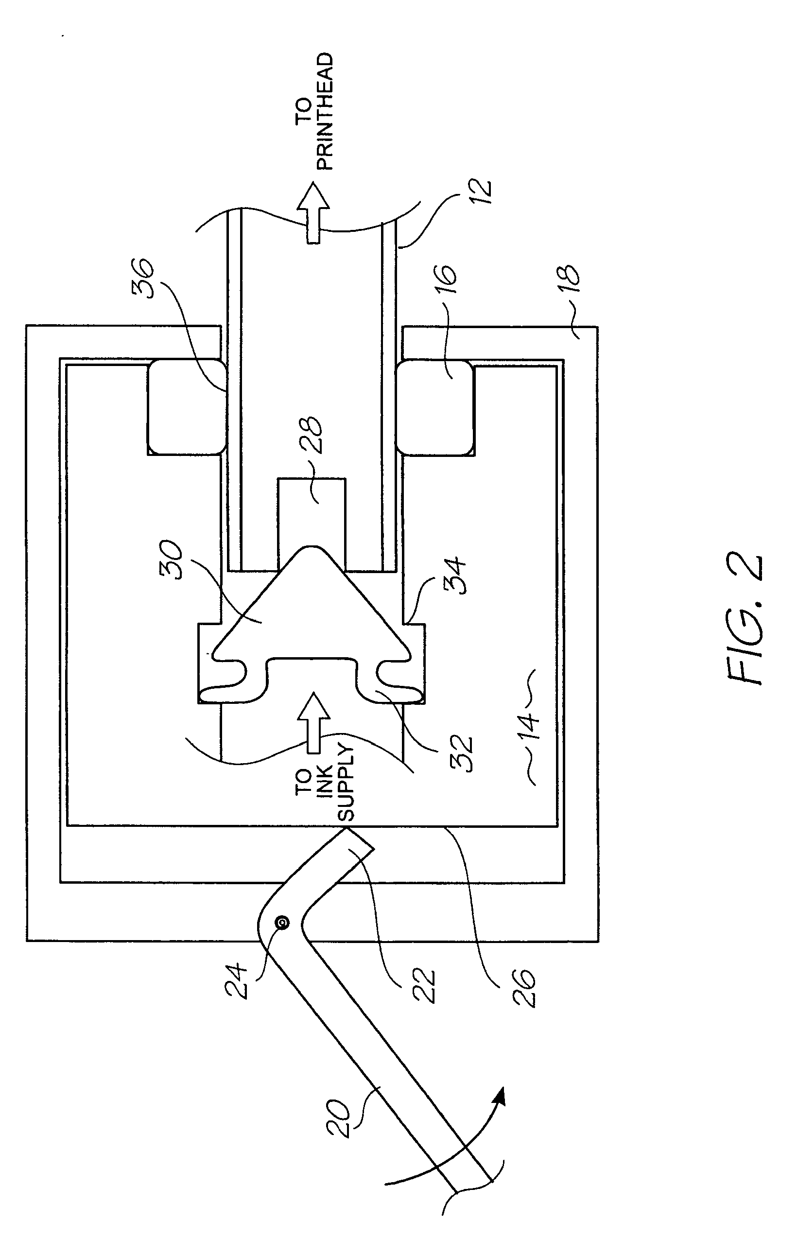
printer with zero insertion force printhead cartridge
图片尺寸1913x2468
printer with zero insertion force printhead cartridge
图片尺寸2081x2559
low insertion force socket with lead-in mechanism background of
图片尺寸1872x1704
44-547-11e
图片尺寸640x640
method and device to reduce needle insertion force
图片尺寸2125x2024
216-6278-00-3303
图片尺寸1200x1200
low insertion force fluid coupling
图片尺寸1642x2551
low or zero insertion force connector for multi-pin arrays
图片尺寸1709x2015