intruding

intruding
图片尺寸375x500
intruding cat的字符映射图
图片尺寸831x763
intruding
图片尺寸1123x1685
intruding on her i-pod | flickr – 相片分享!
图片尺寸500x313
photobomb words on a black round bomb to illustrate intruding
图片尺寸401x470
intruding cat regular version 1.00图片样张
图片尺寸800x888
intruding-object detection apparatus
图片尺寸1920x3061
进口成人拼图天堂与地狱双拼潮玩具送礼物地狱迷宫 1000片 intruding
图片尺寸800x800
weights)svg alphabethk nova mediumnowaynatsukrabularintruding
图片尺寸800x552
intruding / 全部大小
图片尺寸1024x697
intruding-object detection apparatus
图片尺寸1758x1100
intruding on a silence
图片尺寸320x320
weights)svg alphabethk nova mediumnowaynatsukrabularintruding
图片尺寸800x557
natsukrabularintruding catleixooc1aveline (personal use)
图片尺寸800x528
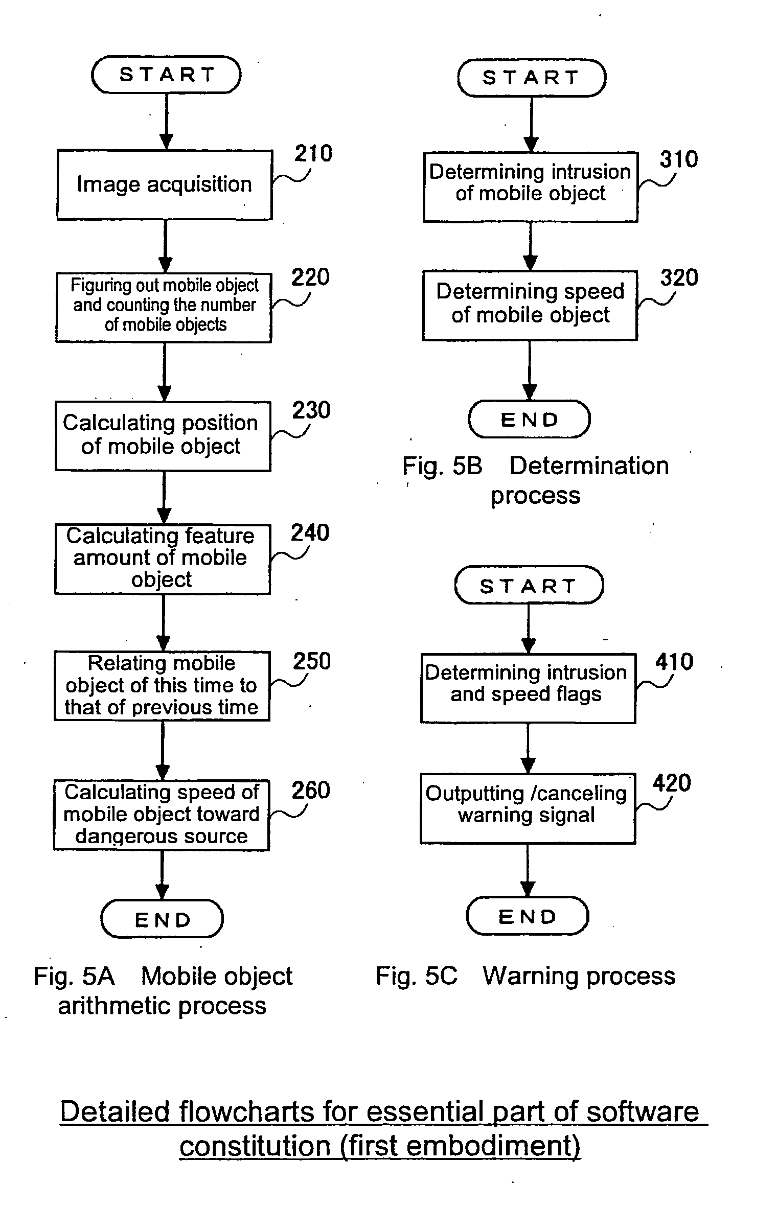
intruding object monitoring system
图片尺寸1520x2407
weights)svg alphabethk nova mediumnowaynatsukrabularintruding
图片尺寸800x551
intruding-object detection apparatus
图片尺寸1136x1278
hk nova mediumnowaynatsukrabularintruding catleixooc1aveline
图片尺寸800x556
*new* without intruding, get answers to simple questions by
图片尺寸1600x960
they don't have to worry about humans intruding on their
图片尺寸520x390