kcb齿轮泵维修图解

齿轮油泵
图片尺寸500x301
金驰kcb-18.3齿轮泵 不锈钢齿轮油泵 超进口齿轮泵 .
图片尺寸750x597
cb-b系列低压齿轮泵
图片尺寸1434x450
图文细说齿轮泵
图片尺寸640x480
图文细说齿轮泵
图片尺寸640x481
齿轮泵型号字母代表什么齿轮泵型号参数各代表什么
图片尺寸500x385
干货来袭 | 齿轮泵的各种疑难杂症——5分钟豁然开朗
图片尺寸708x439
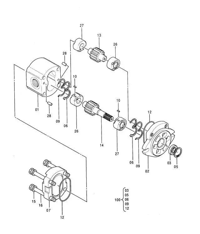
nbz5-g80f齿轮泵结构分解图
图片尺寸870x522
外啮合齿轮泵的结构和工作原理
图片尺寸1325x739
图文细说齿轮泵
图片尺寸640x478
齿轮泵的工作原理
图片尺寸700x345
供应nb内啮合齿轮泵nb5一c400f
图片尺寸892x551
第四节 齿轮泵
图片尺寸1075x435
浅谈液压系统内啮合齿轮泵
图片尺寸535x297
齿轮泵优化设计
图片尺寸1807x1112
齿轮泵分解图齿轮泵零件明细图友情提示:非专业人士或动手能力强者
图片尺寸640x749
图1-1 齿轮泵
图片尺寸893x364
结构图 齿轮泵工作原理及
图片尺寸1080x810
2.2 齿轮泵
图片尺寸1000x1204
bb,bbg型内啮合摆线齿轮泵|结构原理
图片尺寸650x396