knee简笔画

knee prosthesis
图片尺寸1789x2796
【knee】在线收听_cherrie 2020_荔枝
图片尺寸320x320
mobile/fixed prosthetic knee systems
图片尺寸2031x2619
anatomical knee prosthesis
图片尺寸1910x2830
artificial knee joint
图片尺寸919x2400
knee socks free icon
图片尺寸920x980
knee distractor
图片尺寸1779x2727
knee prosthesis
图片尺寸2030x2977
the medical orthopedic knee pads
图片尺寸990x1236
method for reconstructing a knee
图片尺寸1913x2797
systems and methods for compartmental replacement in a knee
图片尺寸2235x3015
knee prosthesis
图片尺寸1743x2703
knee brace and methods of use and modification thereof
图片尺寸1465x2398
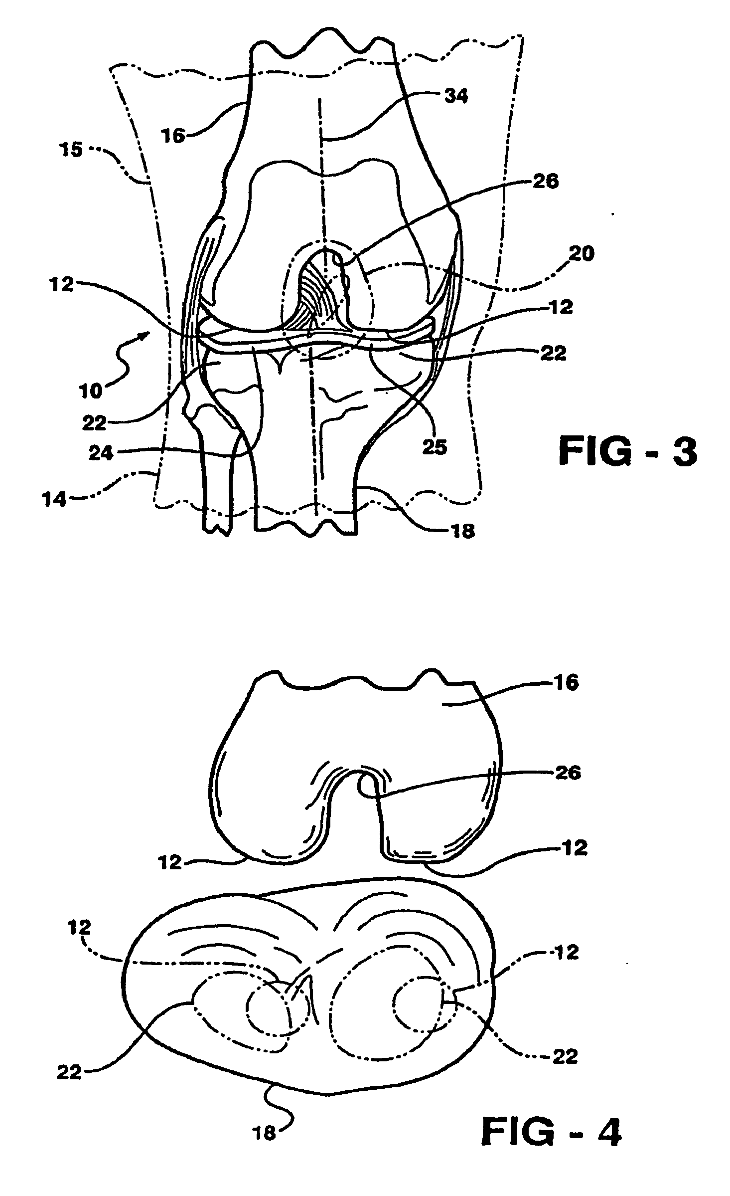
knee prosthesis assembly with ligament link
图片尺寸1984x2554
modular knee prosthesis
图片尺寸2127x2981
patient selectable knee arthroplasty devices
图片尺寸2433x2433
knee prosthesis
图片尺寸1843x2752
knee brace having lateral/medial width adjustment
图片尺寸2100x2108
knee brace and method for securing the same
图片尺寸1989x2974
knee joint prosthesis
图片尺寸2035x2887