kocher

em>kocher /em>
图片尺寸945x945
em>kocher /em>
图片尺寸1000x600
从愚昧到科学结核病防治与合作的变迁
图片尺寸600x714
科琳娜·哈弗奇 corinna harfouch的图片
图片尺寸540x720
比尔·克林顿和人合作出书,讲的是一个白宫惊悚故事
图片尺寸1080x1440
赌徒科尔的迷之微笑
图片尺寸1280x768
kochersbier/法国原装进口阔骑士/科士小麦黄啤酒250ml*20瓶整箱
图片尺寸800x800
与游戏力大师劳伦斯·科恩博士面对面聊育儿
图片尺寸1000x1375
纪念爵士大师奇克考瑞阿因病去世享年79岁
图片尺寸1330x2000
2011年中科院当选院士:阿夫拉姆·赫什科(avram hershko)(外籍院士)
图片尺寸550x825
schrank für kocher
图片尺寸2076x2567
kodaly zoltan
图片尺寸604x800
theodor kocher(1841——1917) 甲状腺外科手术奠基人 1909年诺贝尔奖
图片尺寸500x665
外科肠钳软弹性 kocher 由医用级不锈钢 ce 和 iso 13485 认证材料制
图片尺寸1224x1728
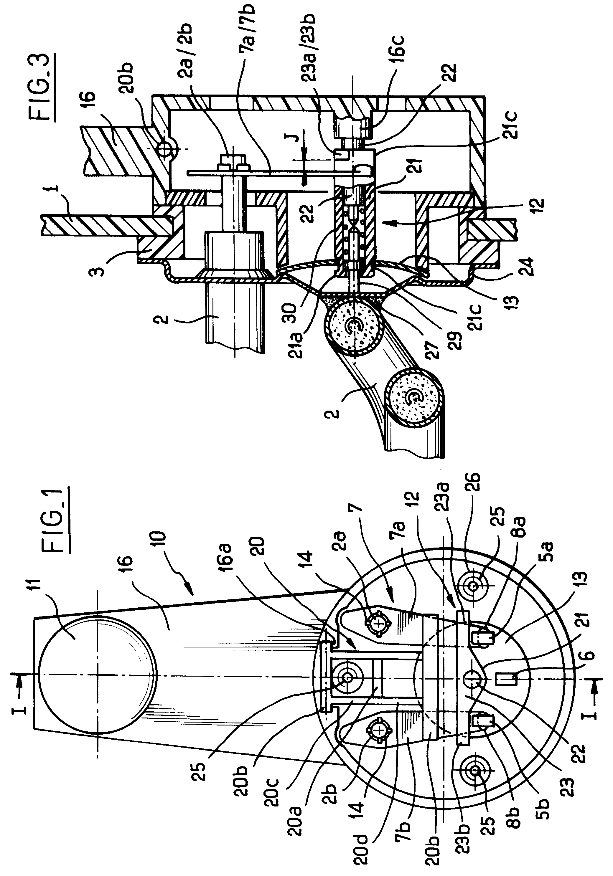
wasserkocher, insbesondere warmwasserspeicher, mit einem regel
图片尺寸2080x2974
赫尔穆特-科尔
图片尺寸942x921
22dieteufelskocher
图片尺寸300x300
gnali & zani vez003/ind - esspressokocher, 杯数 浓缩咖啡
图片尺寸679x770
洛杉矶洛杉矶-jun 5: 尼克 kocher 到达"多 ado 谈什么"la 首映奥斯卡
图片尺寸1001x1620
凯西吉尔西南克制主义正撼动美国
图片尺寸785x1045