kt板固定翼飞机图纸

模型飞机图纸 kt板机p-51野马(a4版)
图片尺寸810x1080
固定翼航模技术讨论区 69 电动固定翼飞机综合区 69 一张kt板做6
图片尺寸3402x2268
自制台风kt板遥控飞机图纸(请用a1打印)
图片尺寸4297x3975
kt板f35像真舱身机图纸-mbf35
图片尺寸5184x3888
航模图纸-kt板-上单翼-像真-su-37(all in one)
图片尺寸1188x918
折纸法制作kt板航模图纸
图片尺寸450x363
自己设计的动力舱版固定翼飞机
图片尺寸3101x1830
1600张图纸轻木固定翼kt板飞机图纸航模制作图纸涡喷固定翼图纸
图片尺寸1109x942
一种大荷载量固定翼无人机
图片尺寸1362x2162
固定翼单座轻型飞机图纸
图片尺寸920x1301
请大侠发张翼龙的kt图纸纯新手求助
图片尺寸682x548
f14制作全程可折叠机翼kt板的精彩
图片尺寸800x539
一种固定翼飞机的制作方法
图片尺寸1000x649
教程电动kt板塞斯纳飞机制作
图片尺寸475x553
一种可拆卸式固定翼航模飞机的制作方法
图片尺寸948x723
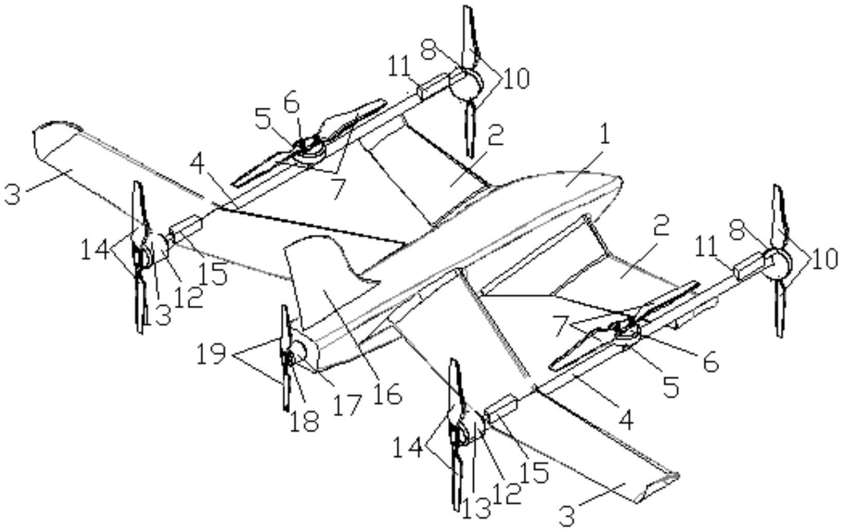
一种可倾转的垂直起降固定翼无人机
图片尺寸1639x1034
具有垂直起降功能的固定翼无人机
图片尺寸1000x921
一种固定翼扑翼复合式飞行器
图片尺寸1000x757
一种具有精确灭火功能的察打一体森林消防固定翼无人机
图片尺寸1804x933
一种电力巡检用固定翼无人机的制作方法
图片尺寸1000x673