labial

labial
图片尺寸604x400
labial
图片尺寸300x300
labialise
图片尺寸1302x867
一句话点评5款lelabo实验室最热门香水
图片尺寸1080x810
labiallileanarrativeremix
图片尺寸300x300
artel black是什么字体
图片尺寸898x379
(2013) labialand by montreal artist melanie matthews.
图片尺寸600x339
莱幂水蜜桃睡眠唇膜
图片尺寸800x800
em>yuya /em> em>labial /em>
图片尺寸372x372
高金瑞威大讲堂开堂首论暨私募基金管理与创新发展专题研讨盛大开启
图片尺寸800x519
lelabo香水实验室another13edp100ml
图片尺寸1080x1439
setoflabelsofthemonthsoftheyearfashionablecalligraphy
图片尺寸450x470
the labial
图片尺寸420x283
lelabo实验室香水檀香木33
图片尺寸1080x1080
dios usa lapiz labial
图片尺寸349x500
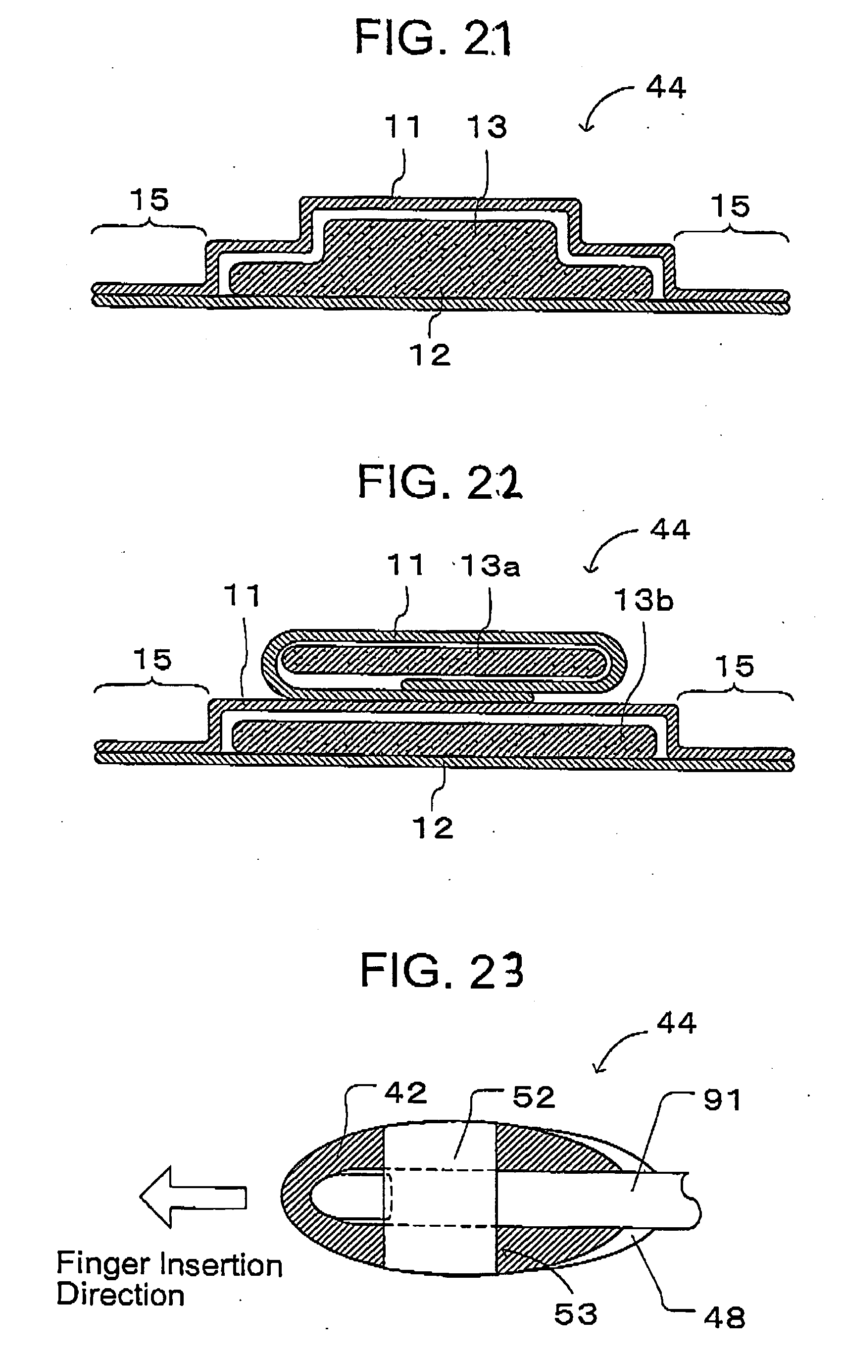
labial pad having a tab
图片尺寸2089x2335
lelabo香水实验室香氛体验组
图片尺寸1080x608
美国小众沙龙lelabo香水实验室香水100ml现货8个味道b
图片尺寸1080x1080
interlabial-polster und seine verpackung
图片尺寸1701x2740
men moisture lip balm hidratante labial lipbalm increase plu
图片尺寸800x800