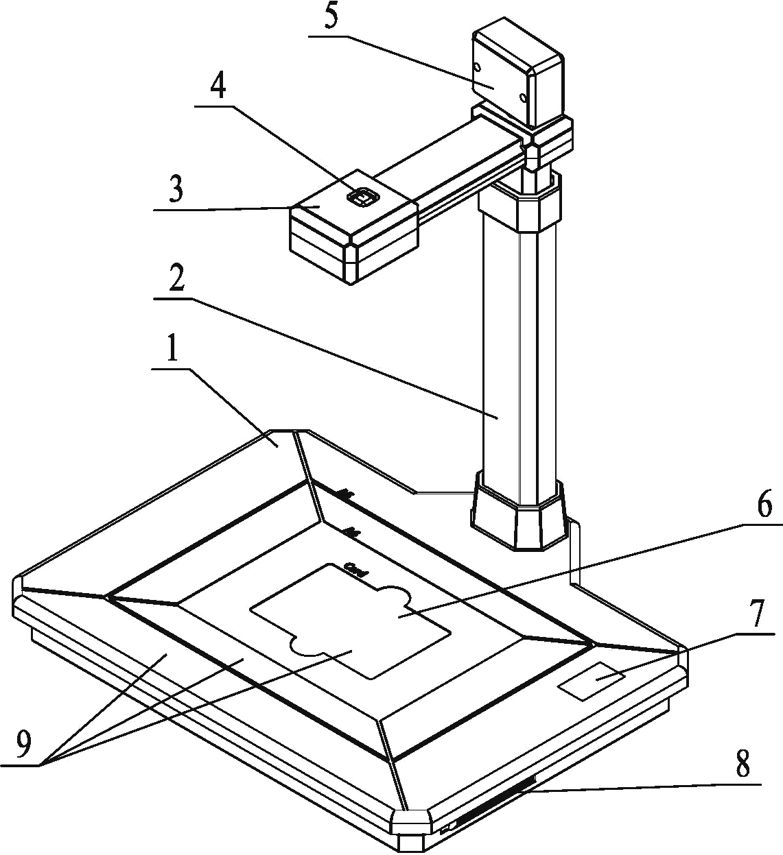
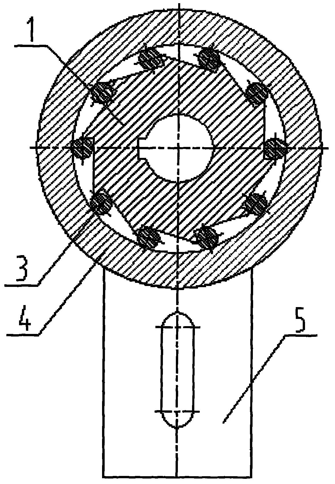
logo装置

logo墙装置
图片尺寸3000x2000
100种颜色安装的装置设计 日本 东京 银座 阵列 装置 餐厅logo vi
图片尺寸1070x790
商标logo
图片尺寸845x1112
商标logo
图片尺寸1141x1247
商标logo
图片尺寸1162x1677
商标logo
图片尺寸1663x1566
商标logo
图片尺寸539x800
商标logo
图片尺寸1145x2189
商标logo
图片尺寸799x725
商标logo
图片尺寸1771x1569
商标logo
图片尺寸1262x1265
商标logo
图片尺寸1358x917
商标logo
图片尺寸1370x1372
商标logo
图片尺寸800x640
商标logo
图片尺寸1409x1491
商标logo
图片尺寸1813x861
商标logo
图片尺寸1165x1620
商标logo
图片尺寸1072x720
商标logo
图片尺寸1169x1197
商标logo
图片尺寸1008x820