lowdensity

low density cellular plastics
图片尺寸329x500
大方尺lowdensity77residentialtitle
图片尺寸972x971
pj全新唯一lowdensityproject
图片尺寸1080x1465
low density paperboard articles
图片尺寸1868x1553
residential77lowdensity而且kl才430k
图片尺寸1080x1080
ldpc (low density parity check) code size adjustment by
图片尺寸1834x2218
low-density lipoprotein receptor-deficient hepatocytes
图片尺寸685x1111
hot sale low density polyethylene customized color acp sheet
图片尺寸700x701
layered low density parity check decoding for digital
图片尺寸2615x2115
low-density, high strength aramid boards
图片尺寸2320x3408
low density parity check (ldpc) encoded higher order modulation
图片尺寸1636x2487
low density coffee process
图片尺寸2320x3408
vascular inflammation and low‐density lipoproteins: is
图片尺寸2128x3051
low density pe customized color aluminium composite sandwich
图片尺寸300x300
low density cellular plastics
图片尺寸267x400
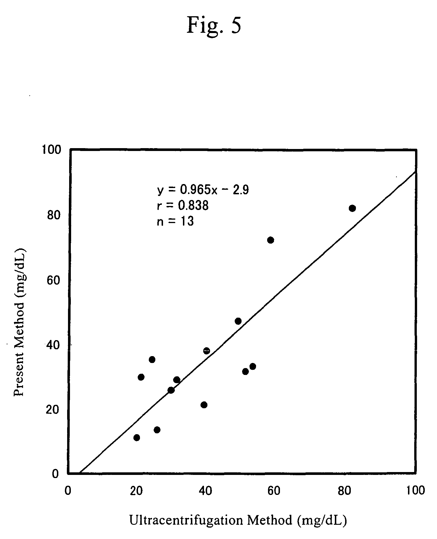
method of quantifying small-sized low density lipoprotein
图片尺寸1536x1892
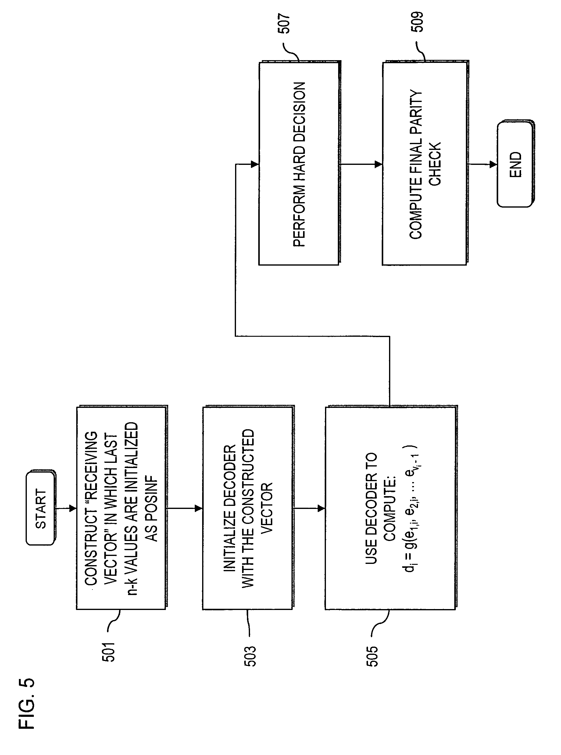
encoding low density parity check (ldpc) codes through an lpdc
图片尺寸1840x2473
multi-code ldpc (low density parity check) decoder
图片尺寸1561x2719
280,000 golden visa portugal by buying in low density areas
图片尺寸1200x764
【预订】low density cellular plastics: physical
图片尺寸266x400