measuringpoint

protein functionsreading cuvette:flow through cellmeasuring
图片尺寸1406x945
lube oil flash point measuring device
图片尺寸300x300
sadpmini-ex dew-point measuring device / hand-held / portable
图片尺寸1941x1317
smp30 | melting point measuring device / digital max. 400 °c
图片尺寸2121x1500
method of measuring point-blank passing time or the like of
图片尺寸2263x2525
multiple measuring point configuration for a chromatic point
图片尺寸2417x3000
measuring point changeover switches - measuring point changeover
图片尺寸300x300
virtual temperature measuring point
图片尺寸1949x2393
1 dew-point measuring device / air / for compressed air 0 – 100
图片尺寸800x1456
to measuring point 2 | flickr – 相片分享!
图片尺寸375x500
measuring of point or edge
图片尺寸458x305
a method of measuring point-blank passing time or the like of
图片尺寸1856x2209
a method of measuring point-blank passing time or the like of
图片尺寸1328x1882
method of measuring point-blank passing time or the like of
图片尺寸1760x1859
new karl storz multipoint measuring videoscope features
图片尺寸800x450
method for measuring point defect distribution of silicon single
图片尺寸1971x2857
ai_measuring_point_slvsck0.gif
图片尺寸572x211
sensor for a measuring point and method for testing a sensor for
图片尺寸1995x1649
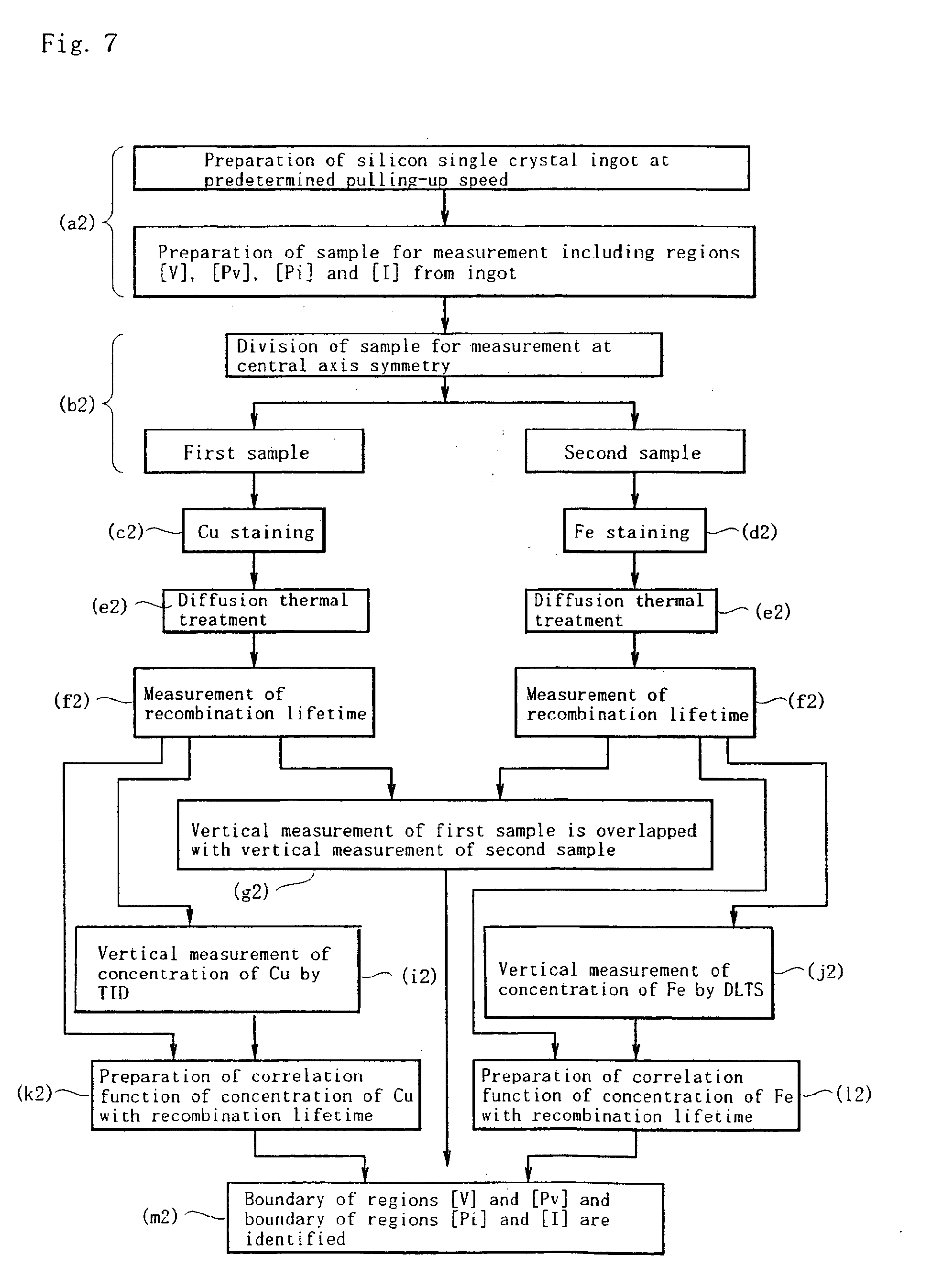
method for measuring point defect distribution of silicon single
图片尺寸1949x2693
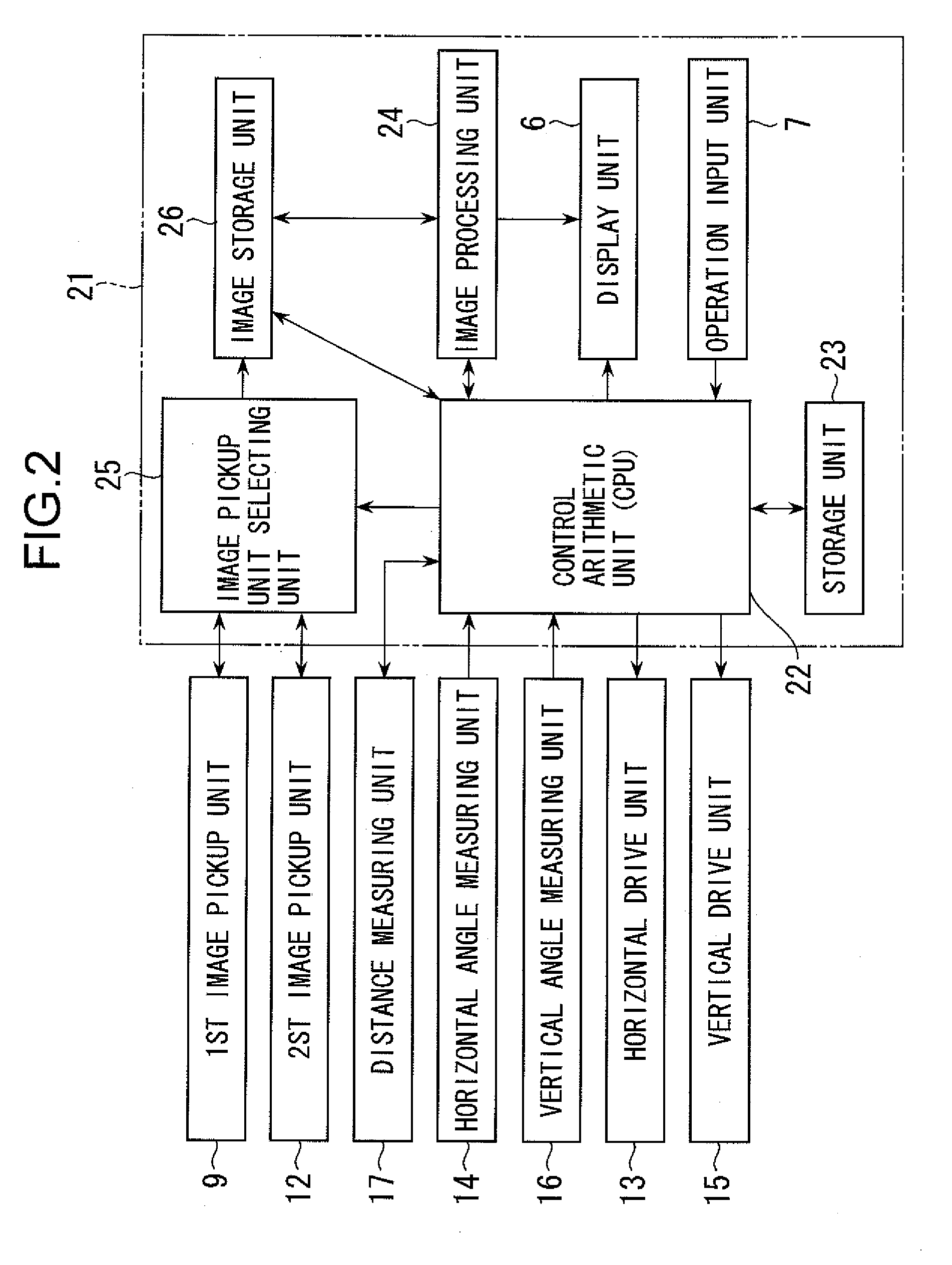
multiple-point measuring method and survey instrument
图片尺寸1902x2528