meat patty

artificial plant based meat patty for vegan food
图片尺寸1000x533
some kind of meat patty | flickr – 相片分享!
图片尺寸640x480
meat patty
图片尺寸800x800
meat patty with sprouts on salad leaves
图片尺寸699x466
热门: girl as a chef with meat patty
图片尺寸600x600
meat patty with salted egg
图片尺寸350x263
图库照片: raw minced meat patty
图片尺寸353x450
图库照片: meat patty with tomatoes and spaghetti
图片尺寸450x319
square meat press manual meat patty press burger press meat
图片尺寸640x640
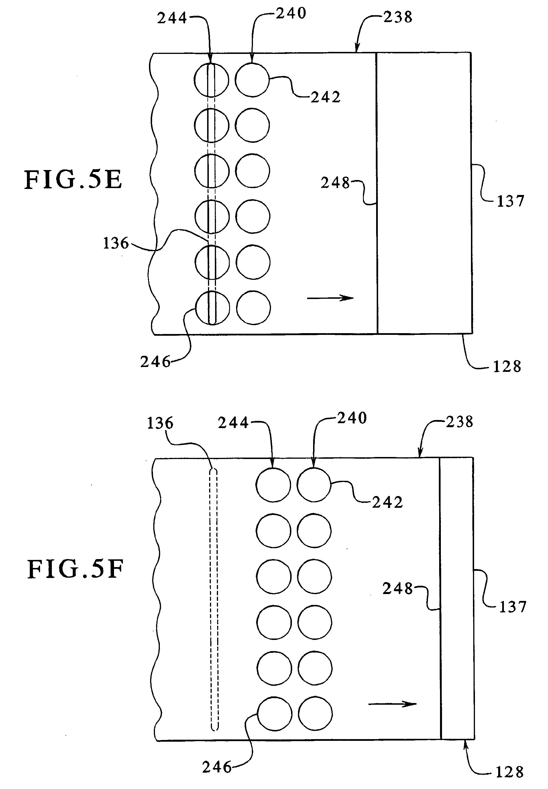
multiple row meat patty forming apparatus and method
图片尺寸1913x2752
图库照片: raw minced meat patty and vegetables
图片尺寸338x450
今天晚上来innout吃夜宵,和店员说点一份meat patty for my dog 就
图片尺寸1080x1439
图库照片: raw minced meat patty and vegetables
图片尺寸450x317
多伦多|mattys pattys 名厨的汉堡店92
图片尺寸1080x1439
图库照片: raw minced meat patty and vegetables
图片尺寸450x319
patty boy
图片尺寸1080x1310
promotion--3 in 1 stuffed press meat patty hamburger maker mold
图片尺寸800x800
today i chopped up a beyond meat patty, melted some follow you
图片尺寸2988x5312
pattys墨西哥菜全新体验奶酪十足
图片尺寸1080x810
industrial/commerial meat patty making machine/burger patty
图片尺寸497x497