messer

messer and cvc fund vii acquire assets in the americas from
图片尺寸1200x413
messer软呢帽
图片尺寸960x1450
奥迪rs4 messer 轮毂太张扬
图片尺寸1200x800
美国梅赛尔messer mg600焊条 3.2mm
图片尺寸800x800
messer//梅萨 pt.4?往下走之前先拍一组 #高达 - 抖音
图片尺寸1440x1804
messer
图片尺寸719x479
德国进口messer梅塞尔氧气燃气螺纹回火防止器阻火器接头调议价
图片尺寸800x800
活动作品死亡搁浅越战大战麦叔deathstranding64
图片尺寸3456x2160
高中英语阅读素材:英语名著:messer marco polo(马可·波罗)(pdf版)
图片尺寸680x406
死亡搁浅保密措施异常严格 索尼将全球禁止剧透
图片尺寸1080x607
梅塞尔messer双表减压器s-315/230.g16/10-r-l-n2-g5/8(f)
图片尺寸750x750
预订【德语】 messer:das praxisbuch für die küche - material
图片尺寸800x800
【预订】messer marco polo 9781162673868
图片尺寸500x500
【预订】messer marco polo 9781161442519
图片尺寸500x500
核心提示:气体分离从gasworld获悉,梅塞尔集团(messer)正处于斯洛文尼
图片尺寸800x600
梅塞尔messer 控制器系统io板pcbs-0057 拆机9成新 现货就1个
图片尺寸4032x3024
拆机梅塞尔messer数控切割机系统显示器 e
图片尺寸1080x1440
阿姆亭亭玉立的阴影惩罚者高清壁纸1024x768分辨率查看
图片尺寸1920x1080
激光切割机messer触摸屏倍福工控屏c6525-1001- 0030-e倍福工控屏
图片尺寸1920x1440
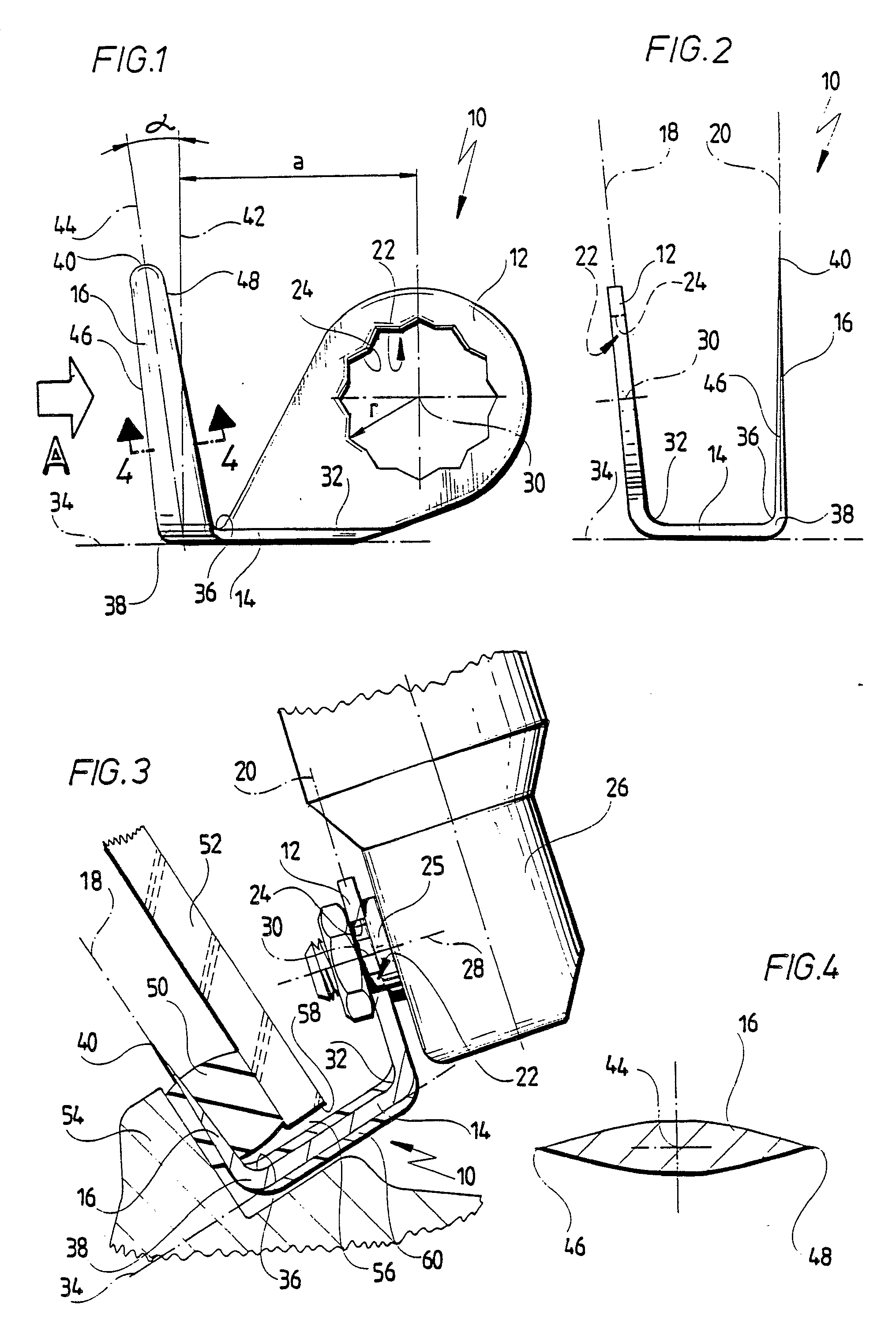
schneidmesser mit geradem schneidteil
图片尺寸2031x3008