microsheet

2 x 15毫米 26l 容量用于办公室使用 - buy 10 sheet micro cut
图片尺寸800x800
p142000micro datasheet(1/2 pages) tripplite | hdmi to micro hdmi
图片尺寸918x1188
ml4822 datasheet(2/10 pages) micro-linear | zvs average current
图片尺寸918x1188
ml2021 datasheet(12/12 pages) micro-linear | telephone line
图片尺寸918x1188
mas6503数据表pdf30pagemicroanalogsystems
图片尺寸892x1263
cm3016-48 datasheet(2/10 pages) calmirco | micropower, 4.
图片尺寸918x1188
p14206nmicro datasheet(1/2 pages) tripplite | micro hdmi to hdmi
图片尺寸918x1188
cm3106-12sb 数据表(pdf) 2 page - california micro devices corp
图片尺寸918x1188
mas1016btc1数据表pdf5pagemicroanalogsystems
图片尺寸892x1263
rf2637 数据表(pdf) 1 page - rf micro devices
图片尺寸918x1188
soft and breathable white brushed microfiber flat sheet hotel
图片尺寸645x747
amazonbasics deluxe microfiber sheet set, spa blue, full
图片尺寸1500x1051
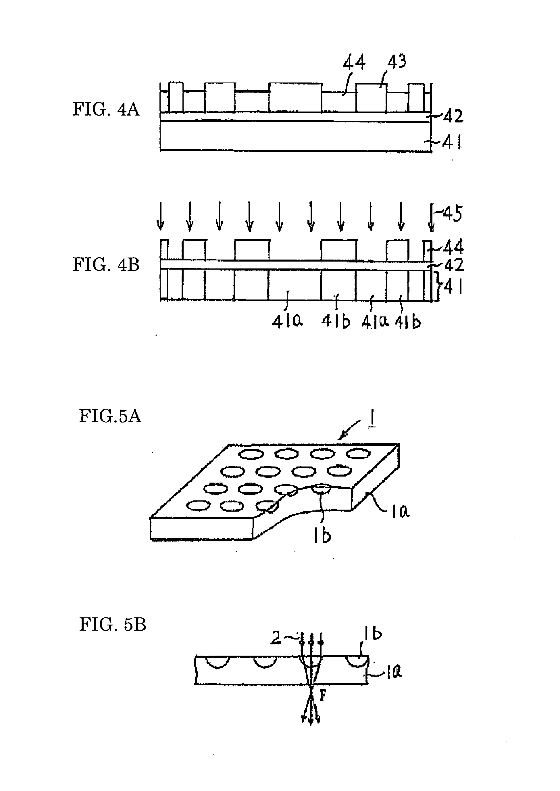
flat sheet type micro-lens and production method therefor
图片尺寸1949x2752
em6517 datasheet(57/64 pages) emmicro | mfp version of em6617
图片尺寸892x1263
a4975 datasheet(4/13 pages) allegro | full-bridge pwm micro
图片尺寸918x1188
pink full size your / zone soft microfiber sheet set new
图片尺寸500x373
mlm-192cw datasheet(1/2 pages) micro-electronics | visible led
图片尺寸892x1263
(micro-linear) pdf技术资料下载 ml4830cp 供应信息 ic datasheet
图片尺寸850x1100
pdf 数据手册 , ml6427 数据表 -micro linear corporation datsheetq
图片尺寸298x385
dropshipping winter cheap quilt microfiber sheet luxury
图片尺寸922x723