modifiable

微软windows10出现modifiablewindowsapps文件夹
图片尺寸728x448
modifiable attribute identification
图片尺寸2286x2808
modifiable armor
图片尺寸958x539
enhance the public's awareness and perception of modifiable
图片尺寸525x300
modifiable risk factors
图片尺寸420x330
modifiable memory devices having limited expected lifetime
图片尺寸1727x2033
tuto video : utile, crer un pdf modifiable avec scribus
图片尺寸300x302
游戏修改?微软windows 10出现modifiablewindowsapps文件夹
图片尺寸526x293
tag including rfid circuit storing data modifiable using a
图片尺寸1507x2095
system for maintaining a user-modifiable confirmation message
图片尺寸2121x2729
table modifiable edit functions with order-effective edit rules
图片尺寸2320x3408
making storage system having modifiable conductor and memory
图片尺寸1390x1977
system for maintaining a user-modifiable confirmation message
图片尺寸2625x4045
electrically modifiable, non-volatile, semiconductor memory
图片尺寸2602x2655
专利us20110315323 - modifiable element for shaping a raw tire
图片尺寸1852x2600
methods for granting access to resources modifiable by users in
图片尺寸1961x1261
it driver ╟ flash it allows you to display 1 of 20 (modifiable)
图片尺寸320x480
efficient white listing of user-modifiable files
图片尺寸1913x1843
modifiable gate stack memory element
图片尺寸1689x2879
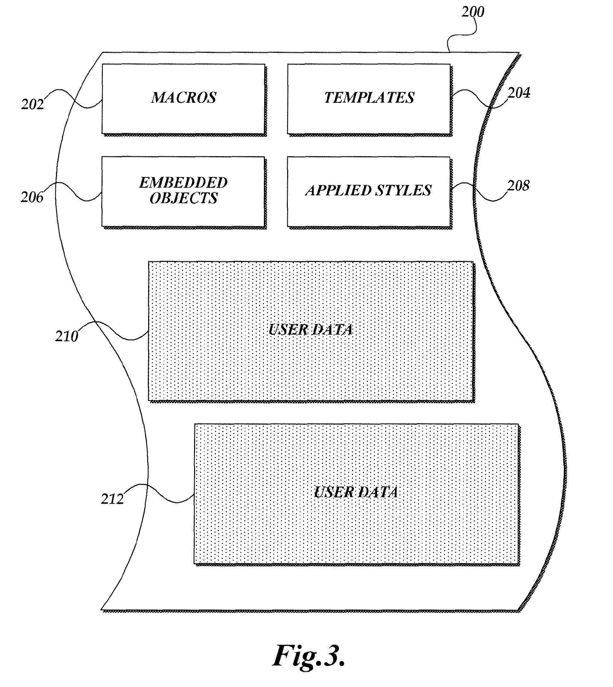
efficient white listing of user-modifiable files
图片尺寸1949x2185