monopole antenna

细数罗曼尼康帝到底出过哪些葡萄酒?
图片尺寸1080x1816
method of manufacturing a central stem monopole antenna
图片尺寸2896x4199
【预售 按需印刷】design and implementation of monopole antenna
图片尺寸907x1360
monopole antenna
图片尺寸1627x2549
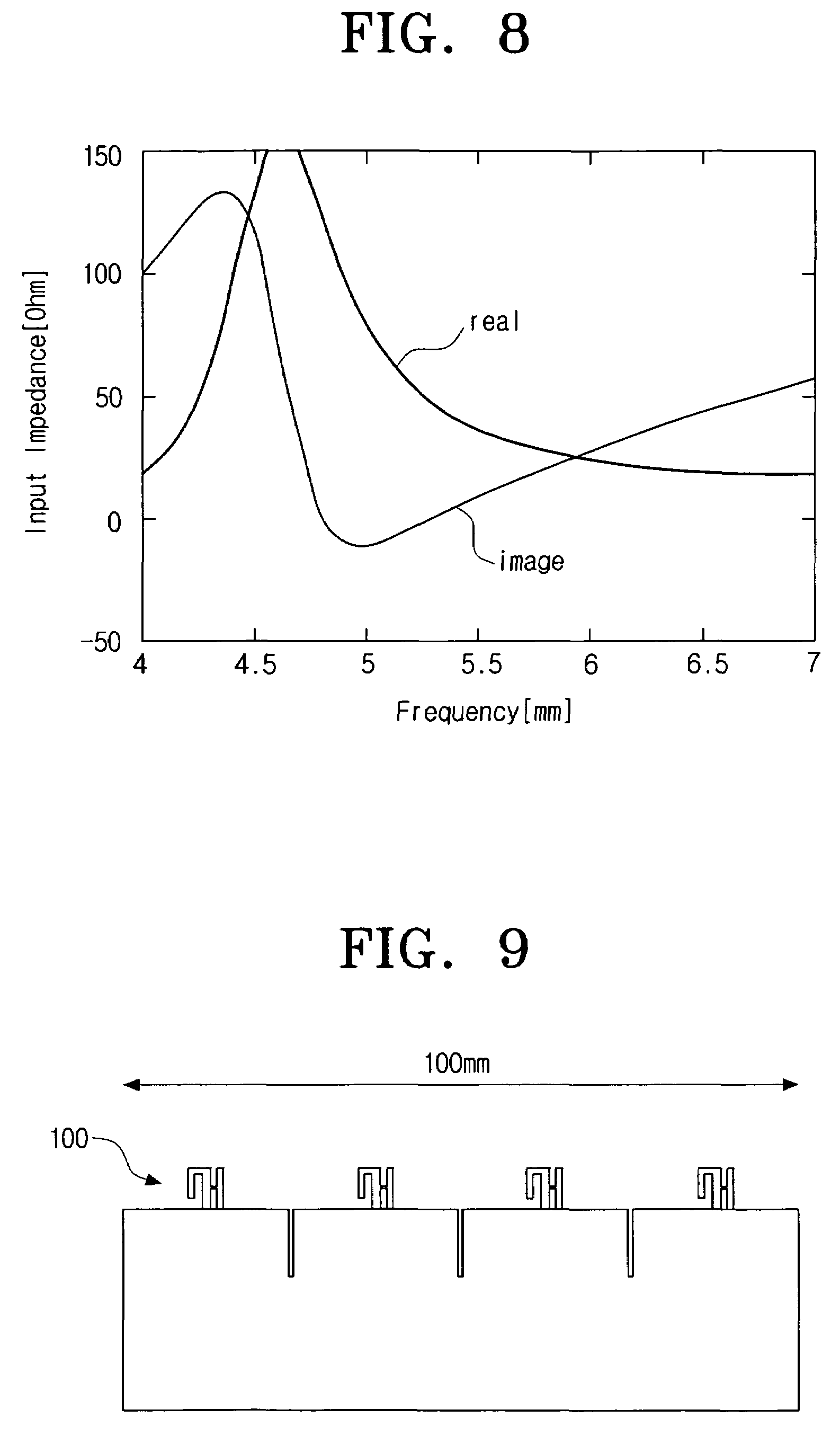
monopole antenna
图片尺寸1927x2326
multiband monopole antenna with independent radiating elements
图片尺寸2107x2842
an_master_003【maswell 5g antenna monopole】
图片尺寸640x640
folded monopole antenna的定义
图片尺寸670x349
大姨妈止痛药
图片尺寸833x555
wideband printed monopole antenna
图片尺寸2142x2665
multi-band printed monopole antenna
图片尺寸1586x1538
multi-band symmetric phase center folded monopole antenna for
图片尺寸2087x3314
small broadband monopole antenna having perpendicular ground
图片尺寸1603x2715
pages) etc2 | 169 mhz vhf ceramic chip monopole antenna
图片尺寸892x1261
monopole antenna
图片尺寸1816x2104
monopole antenna applicable to mimo system
图片尺寸1586x2710
monopole antenna assembly
图片尺寸1716x1946
folded slotted monopole antenna
图片尺寸2128x2755
monopole and dipole 3g external antenna with tnc connector
图片尺寸893x637
monopole 中的"o" 紫光灯下为绿色.993. "mise en
图片尺寸1080x1440