multidirectional

fiber reinforcements
图片尺寸250x250
multidirectional audio decoding
图片尺寸640x514
专利ep1160815a2 - multidirectional switch whose st
图片尺寸1696x2744
multidirectional panels
图片尺寸1584x2317
multidirectional operation switch
图片尺寸2160x2491
miccai2021 contest : gamma
图片尺寸1277x854
专利us6430148 - multidirectional communication system
图片尺寸2831x3703
俄语定向动词和非定向动词
图片尺寸1080x1439
additive manufacturing of multidirectional preforms a
图片尺寸501x792
multidirectional input device
图片尺寸2448x3770
multidirectional input device
图片尺寸1865x3478
专利us6430148 - multidirectional communication system
图片尺寸2290x1868
8054598720 @ diagram template of multidirectional p
图片尺寸400x395
multidirectional input device
图片尺寸2195x1809
multidirectional pathways between attachment, mentaliz
图片尺寸497x438
multidirectional input device
图片尺寸1760x1972
专利us20030105460 - multidirectional pivoting bone
图片尺寸2060x2653
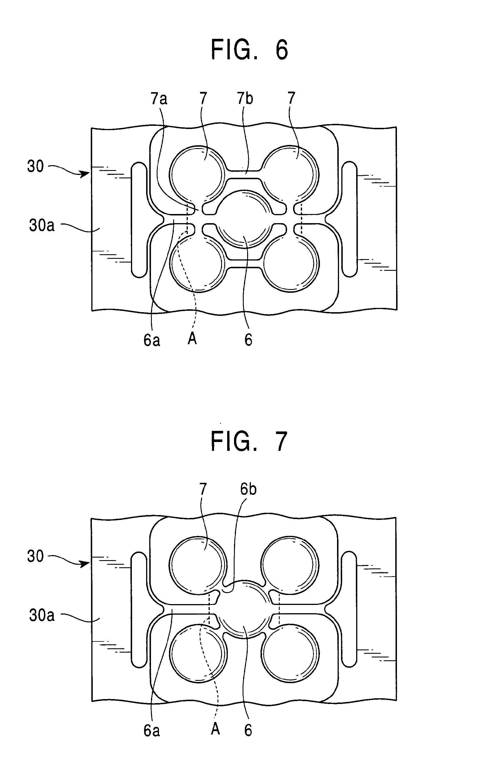
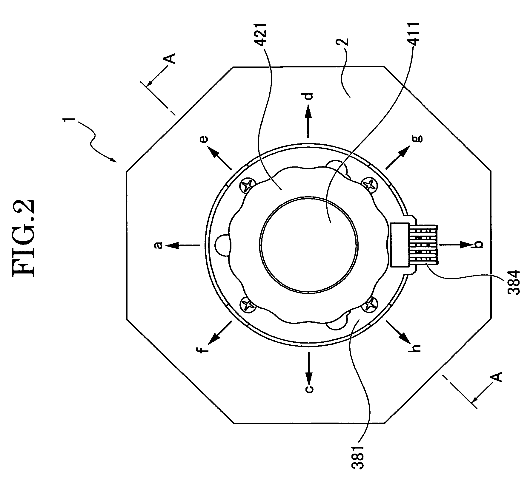
专利us7915549 - multidirectional operation switch a
图片尺寸1775x1633
专利us8421480 - multidirectional switch member and
图片尺寸2237x2539
additive manufacturing of multidirectional preforms a
图片尺寸553x296