myoma

myoma课件ppt
图片尺寸1080x810
myoma课件ppt
图片尺寸1080x810
16-4 myoma of uterus
图片尺寸1080x810
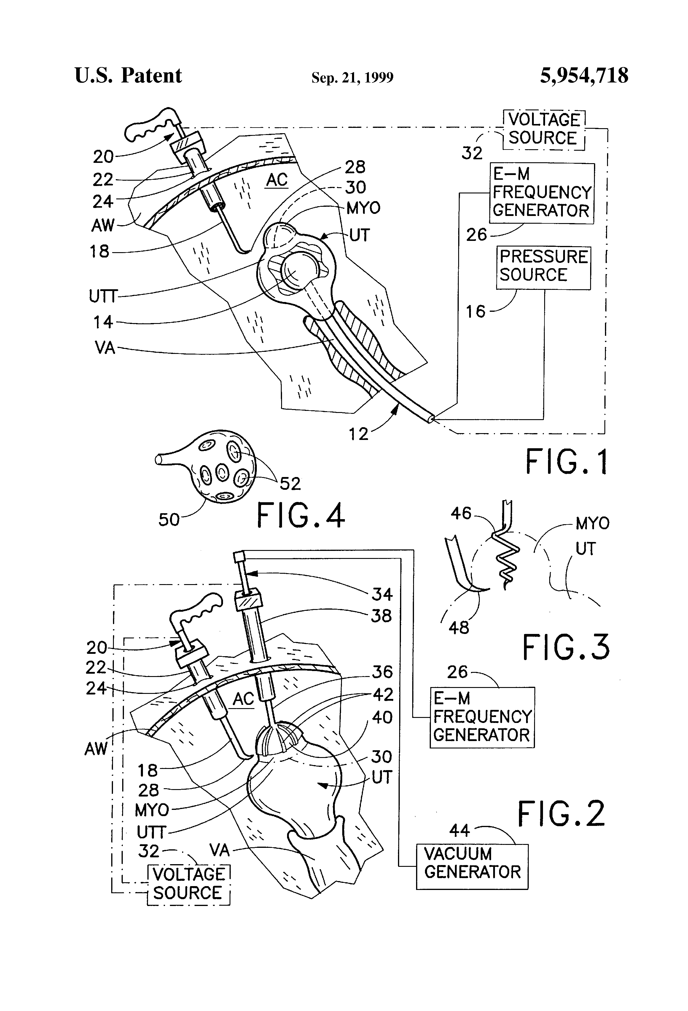
myoma removal technique and associated surgical device
图片尺寸2320x3408
myoma包装设计
图片尺寸1088x1065
【4周达】uterine myoma, myomectomy and minimally invasive
图片尺寸800x800
子宫肌瘤(uterine myoma,fibroid)全称是子宫平滑肌瘤,由子宫平滑肌
图片尺寸1080x1080
myoma包装设计
图片尺寸963x666
myoma包装设计
图片尺寸392x366
myoma包装设计
图片尺寸1088x495
myoma包装设计
图片尺寸1088x606
myoma包装设计
图片尺寸1088x651
人美心善又有钱
图片尺寸600x422
4733949406子宫肌瘤uterinemyoma双语教学张喜
图片尺寸920x690
【4周达】uterus myomatosus
图片尺寸800x800
子宫肌瘤uterine myoma双语教学张喜
图片尺寸300x225
myomans adventure i
图片尺寸480x360
子宫肌瘤课件
图片尺寸920x690
漂亮的包装设计
图片尺寸554x609
子宫肌瘤(myoma of uterus) - 复旦大学上海医学院妇产科
图片尺寸960x540