n-butanol

process for the biological production of n-butanol with high
图片尺寸1039x721
n-butanol_伊诺凯
图片尺寸300x300
n-叔丁氧羰基-(s)-(-)-2-氨基-1-丁醇,n-boc-(s)-2-amino-
图片尺寸417x374
search for n butanol products
图片尺寸300x300
selective recovery of n-butanol from aqueous solutions with
图片尺寸500x349
n-tosyl-4-(2-methylanilino)-2-methyl-2-butanol结构式
图片尺寸187x231
esterification of phthalic anhydride with n-butanol using eco
图片尺寸828x423
process for the production of n-butanol
图片尺寸2320x3408
产品编号纯度规格包装sp下载操作—7208002-1199 p % in n-butanol
图片尺寸615x445
4-正丁胺基-1-丁醇,n-butyl-4-hydroxybutylamine
图片尺寸407x214
【4周达】utilization of wco biodiesel and n-butanol in di diesel
图片尺寸800x800
esterification of phthalic anhydride with n-butanol using eco
图片尺寸1169x722
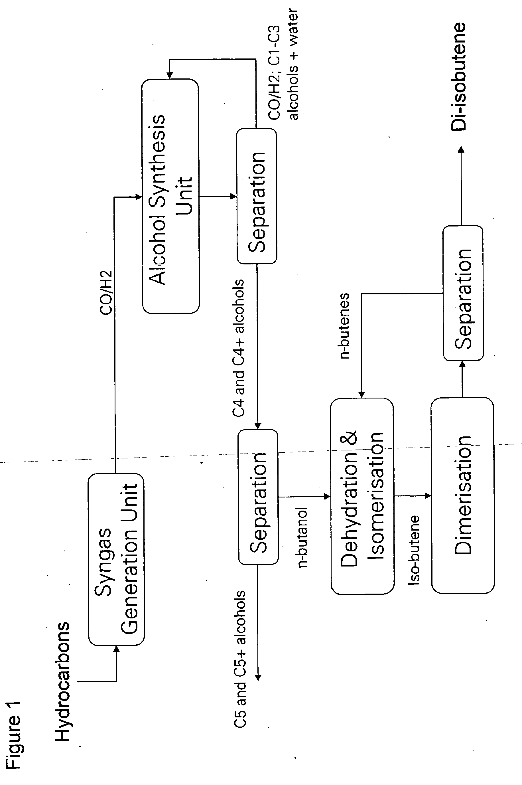
a process for the conversion of n-butanol to di-isobutene and pr
图片尺寸1913x457
methanol, n-butanol, iso-butyl, isopropyl alcohol, mix alcohol
图片尺寸1023x446
a process for the conversion of n-butanol to di-isobutene and
图片尺寸957x385
4-(methylnitrosamino)-1-(3-pyridyl-n-oxide)-1-butanol
图片尺寸363x225
a process for the conversion of n-butanol to di-isobutene
图片尺寸1831x2752![2-[4-(n-叔丁)哌嗪-1-基]-3-甲基-5-硼酸二甲基丁醇酯](https://imgs.wantubizhi.com/img/A1A61BAA66193547F3A6DD7D8EE527E97DEDA1F5F4713E4D1BC54BC6E154C2FE171DA6B0DC7831EAB383A23FAC9756816ADB2FC6A7BD3FD0C9D6C1F586421FB256E21A6AD15998A24F40FFECD7971F64A4D135EFB509411FEC8BCAE3D4ABAE26)
2-[4-(n-叔丁)哌嗪-1-基]-3-甲基-5-硼酸二甲基丁醇酯
图片尺寸484x300
北理工在渗透汽化分离膜研究方面取得重要进展
图片尺寸1961x1104
lactoyl-coabodipy-no2白叶藤碱lyso-ni-se新白叶藤碱壳寡糖5-htp
图片尺寸605x375