nasal cavity

the nasal cavity
图片尺寸952x644
nasal cavity model, human anatomical nose throat anatomy
图片尺寸880x573
polypus in the nose, and other affections of the nasal cavity
图片尺寸907x1360
medical science sagittal plastic nasal cavity anatomical model
图片尺寸1080x1918
anatomical model of nasal cavity with oral cavity throat and
图片尺寸800x800
devices for cooling the nasal cavity
图片尺寸1815x2569
hand held nasal cavity therapy device for allergic rhinitis
图片尺寸3024x4032
上海交通大学耳鼻咽喉科学英文版课件 tumor of nasal cavity and
图片尺寸1152x864
nasal cavity | flickr – 相片分享!
图片尺寸500x393
reactions of the nasal cavity and postnasal space to chilling of
图片尺寸932x812
exam iii - the respiratory system - human head, nasal cavity
图片尺寸412x500
nasal cavity medicator and method of using same
图片尺寸1120x2412
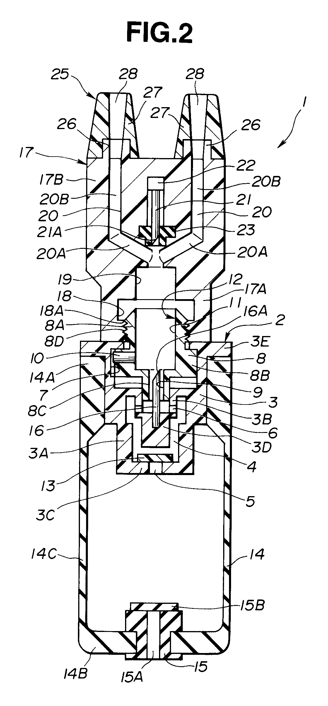
nasal cavity treatment apparatus
图片尺寸1569x2204
researchers map sars-cov-2 infection in cells of nasal cavity
图片尺寸800x480
鼻腔(nasal cavity)骨骼解剖_功能详解
图片尺寸600x400
powder chemical feeding device for nasal cavity
图片尺寸1168x1317
鼻腔(nasal cavity)骨骼解剖_功能详解
图片尺寸602x640
2,nasal cavity(鼻腔)
图片尺寸650x421
bix-a1059 nasal cavity anatomical model human nose model - buy
图片尺寸1024x576
【预订】diseases of the nasal cavity and the vault of the
图片尺寸500x500